Запчасти Komatsu JV100WP-2 ЗАДН. VIEW MIRROR РАМА И КУЗОВ

Схема запчастей Komatsu JV100WP-2 - ЗАДН. VIEW MIRROR РАМА И КУЗОВ
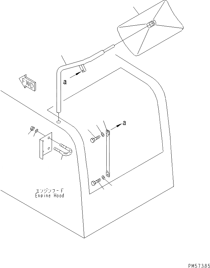
1
2
3
4
5
6
6
7
7
8
FIT
1:1
100%

Артикул

Название

Примечание

Количество

1

273-06-67110

STAY

SN: 31001-UP

1шт.

2

07283-32738

CLIP

SN: 31001-UP

2шт.

3

01643-31032

WASHER

SN: 31001-UP

4шт.

4

01597-01009

NUT

SN: 31001-UP

4шт.

5

273-06-67120

BAR

SN: 31001-UP

1шт.

6

01010-81025

BOLT

SN: 31001-UP

2шт.

7

01643-31032

WASHER

SN: 31001-UP

2шт.

8

08174-33023

MIRROR

SN: 31001-UP

1шт.

Выбрано товаров: 8