Запчасти Komatsu JV16-1 ВОДН. БАК СИСТЕМА РАЗБРЫЗГИВАНИЯ ВОДЫ И МАСЛ. БАК

Схема запчастей Komatsu JV16-1 - ВОДН. БАК СИСТЕМА РАЗБРЫЗГИВАНИЯ ВОДЫ И МАСЛ. БАК
FIT
1:1
100%

Артикул

Название

Примечание

Количество

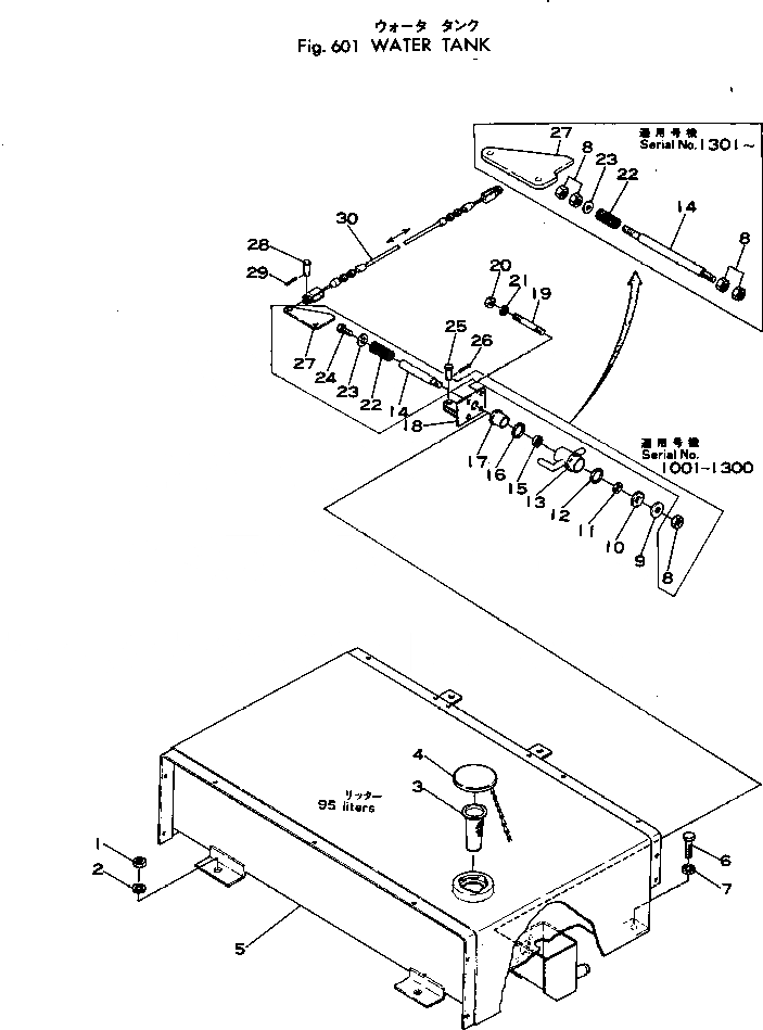
1

01580-01008

NUT

SN: 1001-UP

2шт.

2

01602-01030

WASHER

SN: 1001-UP

2шт.

3

267-20-25311

STRAINER

SN: 1001-UP

1шт.

4

267-20-25321

CAP

SN: 1001-UP

1шт.

5

268-80-11102

TANK

SN: 1564-UP

1шт.

5

0

TANK

SN: 1101-1563

1шт.

5

268-80-11100

TANK

SN: 1001-1100

1шт.

6

01010-31020

BOLT

SN: 1001-UP

2шт.

7

01602-01030

WASHER

SN: 1001-UP

2шт.

8

266-80-31310

NUT

SN: 1301-UP

4шт.

8

266-80-31310

NUT

SN: 1001-1300

1шт.

9

266-80-31320

WASHER

SN: 1001-UP

1шт.

10

266-80-31330

SEAT

SN: 1001-UP

1шт.

11

266-80-31340

WASHER

SN: 1001-UP

1шт.

12

266-80-31350

GASKET

SN: 1001-UP

1шт.

13

268-80-13100

CASE

SN: 1001-UP

1шт.

14

266-80-31381

ROD

SN: 1301-UP

1шт.

14

266-80-31380

ROD

SN: 1001-1300

1шт.

15

265-93-31010

SEAL

SN: 1001-UP

1шт.

16

266-80-31370

GASKET

SN: 1001-UP

1шт.

17

266-80-31360

SLEEVE

SN: 1001-UP

1шт.

18

266-80-31700

BRACKET

SN: 1001-UP

1шт.

19

266-80-31410

STUD

SN: 1001-UP

4шт.

20

01580-00806

NUT

SN: 1001-UP

4шт.

21

01602-00825

WASHER

SN: 1001-UP

4шт.

22

266-80-31390

SPRING

SN: 1001-UP

1шт.

23

266-91-08000

WASHER

SN: 1301-UP

1шт.

23

266-91-06000

WASHER

SN: 1301-1300

1шт.

24

01010-30612

BOLT

SN: 1001-1300

1шт.

25

266-80-31910

PIN

SN: 1001-UP

1шт.

26

04050-02018

PIN

SN: 1001-UP

1шт.

27

268-80-11511

BELLCRANK

SN: 1301-UP

1шт.

27

268-80-11510

BELLCRANK

SN: 1001-1300

1шт.

28

266-80-31910

PIN

SN: 1001-UP

1шт.

29

04050-02018

PIN

SN: 1001-UP

1шт.

30

268-80-11520

WIRE

SN: 1001-UP

1шт.

Выбрано товаров: 36