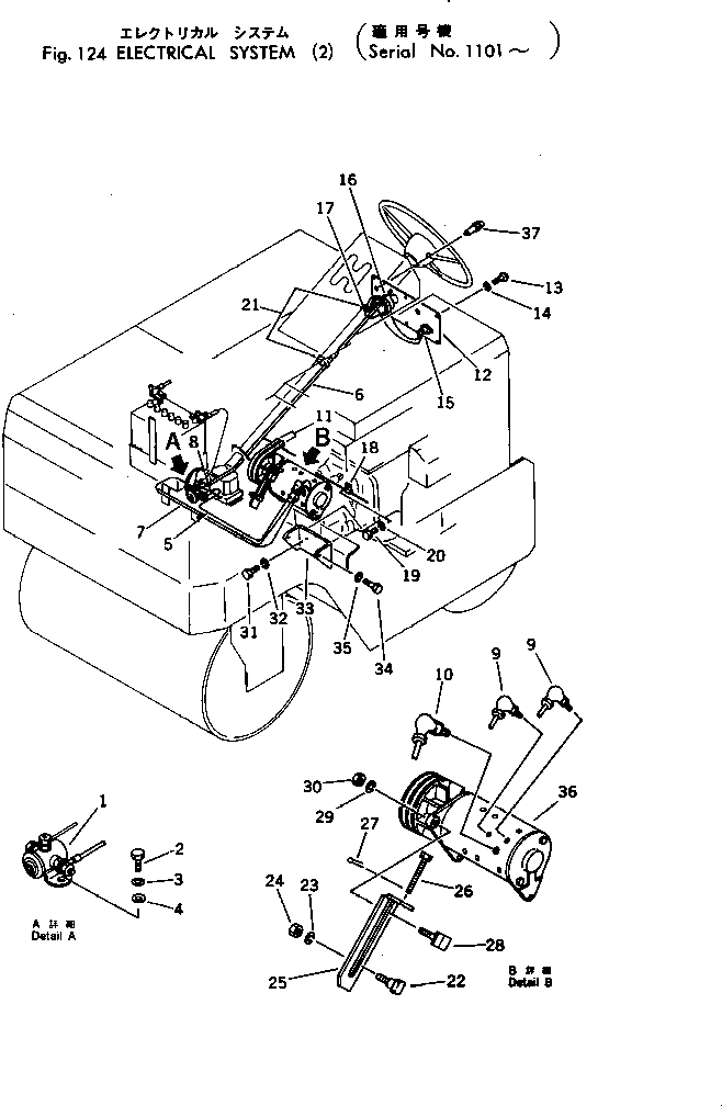
Запчасти Komatsu JV16-1 ЭЛЕКТРИКА ()(№-) ДВИГАТЕЛЬ¤ КОМПОНЕНТЫ ДВИГАТЕЛЯ И ЭЛЕКТРИКА

Схема запчастей Komatsu JV16-1 - ЭЛЕКТРИКА ()(№-) ДВИГАТЕЛЬ¤ КОМПОНЕНТЫ ДВИГАТЕЛЯ И ЭЛЕКТРИКА
FIT
1:1
100%

Артикул

Название

Примечание

Количество

1

268-20-18811

SWITCH

SN: 1391-UP

1шт.

|1

0

SWITCH

SN: 1001-1390

1шт.

2

01010-30612

BOLT

SN: 1101-UP

2шт.

3

01602-00619

WASHER

SN: 1101-UP

2шт.

4

01640-00610

WASHER

SN: 1101-UP

2шт.

5

268-20-18360

CABLE

SN: 1101-UP

1шт.

|6

268-20-17404

HARNESS ASS'Y

SN: 1714-UP

1шт.

|6

268-20-17403

HARNESS ASS'Y

SN: 1251-1713

1шт.

|6

268-20-17402

HARNESS ASS'Y

SN: 1201-1250

1шт.

|6

0

HARNESS ASS'Y

SN: 1201-1250

1шт.

|6

268-20-17400

HARNESS ASS'Y

SN: 1101-1200

1шт.

6

268-20-17203

HARNESS

SN: 1251-UP

1шт.

|6

268-20-17202

HARNESS

SN: 1201-1250

1шт.

|6

268-20-17201

HARNESS

SN: 1101-1200

1шт.

7

268-20-17300

HARNESS

SN: 1101-UP

1шт.

8

268-20-17410

CABLE

SN: 1101-UP

1шт.

9

265-20-13370

CAP

SN: 1101-UP

2шт.

10

265-20-13740

CAP

SN: 1101-UP

1шт.

11

265-99-12370

V-BELT

SN: 1391-UP

2шт.

|11

265-99-12369

V-BELT

SN: 1101-1390

2шт.

12

268-20-18502

PANEL

SN: 1714-UP

1шт.

|12

268-20-18501

PANEL

SN: 1241-1713

1шт.

|12

265-20-18500

CLIP

SN: 1101-1240

2шт.

13

01220-40612

SCREW

SN: 1101-UP

6шт.

14

01602-00619

WASHER

SN: 1101-UP

6шт.

15

268-20-19300

LAMP

SN: 1101-UP

1шт.

16

08086-00000

SWITCH

SN: 1101-UP

1шт.

17

266-20-22540

SWITCH

SN: 1001-UP

1шт.

18

265-82-12005

CLAMP

SN: 1001-UP

1шт.

19

01010-30612

BOLT

SN: 1001-UP

1шт.

20

01602-00619

WASHER

SN: 1001-UP

1шт.

21

268-20-16900

BAND

SN: 1001-UP

2шт.

22

268-20-18720

BOLT

SN: 1101-UP

1шт.

23

01602-01030

WASHER

SN: 1101-UP

1шт.

24

01580-01008

NUT

SN: 1101-UP

1шт.

25

268-20-18600

BRACKET

SN: 1101-UP

1шт.

26

268-20-18710

BOLT

SN: 1101-UP

1шт.

27

04050-02018

PIN

SN: 1101-UP

1шт.

28

268-20-18730

BOLT

SN: 1101-UP

1шт.

29

01602-01030

WASHER

SN: 1101-UP

1шт.

30

01580-01008

NUT

SN: 1101-UP

1шт.

31

01010-31025

BOLT

SN: 1101-UP

3шт.

32

01602-01030

WASHER

SN: 1101-UP

3шт.

33

268-20-18750

BRACKET

SN: 1101-UP

1шт.

34

01010-31030

BOLT

SN: 1101-UP

2шт.

35

01602-01030

WASHER

SN: 1101-UP

2шт.

36

268-20-19101

STARTER ASS'Y

SN: 1391-UP

1шт.

|36

268-20-19100

STARTER ASS'Y

SN: 1101-1390

1шт.

37

268-20-46400

FUSE

SN: 1714-UP

1шт.

Выбрано товаров: 49