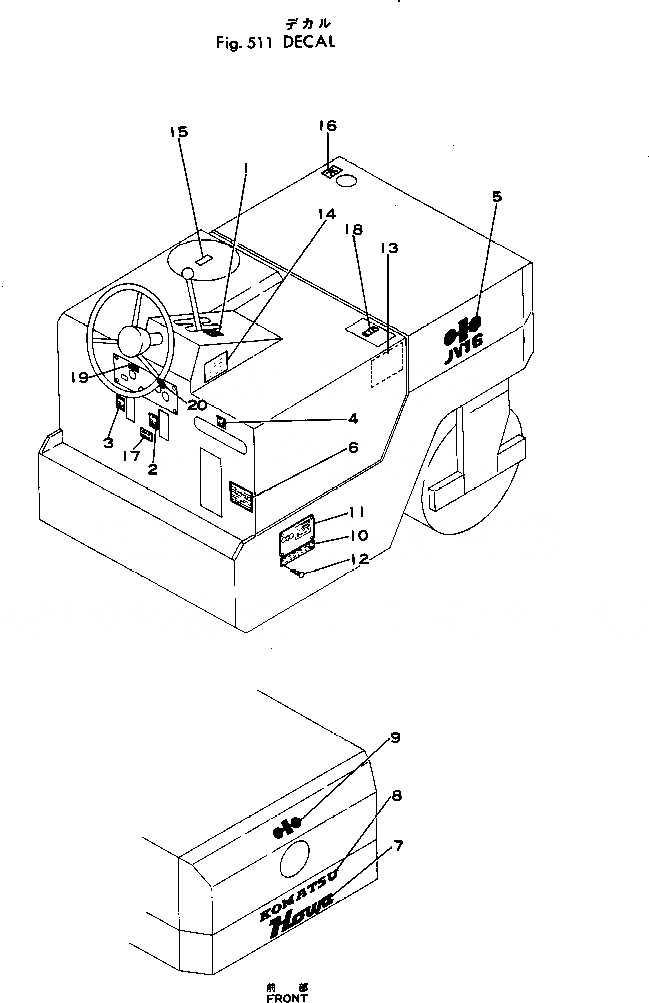
Запчасти Komatsu JV16-1 ТАБЛИЧКИ РАМА И КУЗОВ

Схема запчастей Komatsu JV16-1 - ТАБЛИЧКИ РАМА И КУЗОВ
FIT
1:1
100%

Артикул

Название

Примечание

Количество

|1

268-90-21100

DECAL ASS'Y

SN: 1501-UP

1шт.

|1

268-90-11102

DECAL ASS'Y

SN: 1101-1450

1шт.

1

268-90-11110

MARK

SN: 1001-UP

1шт.

2

268-90-11120

MARK,BRAKE

SN: 1001-UP

1шт.

3

268-90-11130

MARK,WATER SPRAY

SN: 1001-UP

1шт.

4

2691-9-19140

MARK,VIBRATION

SN: 1501-UP

1шт.

|4

268-90-11140

MARK,VIBRATION

SN: 1001-1450

1шт.

5

268-90-11150

PLATE¤ MARK

SN: 1001-UP

2шт.

6

268-90-11310

PLATE¤ DATA

SN: 1001-UP

1шт.

7

265-91-11111

MARK

SN: 1001-UP

1шт.

8

265-91-53355

PLATE¤ MARK,KOMATSU

SN: 1001-UP

1шт.

9

265-91-53125

PLATE¤ MARK

SN: 1001-UP

1шт.

10

265-91-11210

PLATE¤ NAME

SN: 1001-UP

1шт.

11

265-91-12211

PLATE¤ NAME,(LIMITED SUPPLY)

SN: 1001-UP

1шт.

12

266-80-13360

SCREW

SN: 1001-UP

8шт.

13

268-90-11320

MARK,ENGINE START

SN: 1001-UP

1шт.

14

268-90-11330

MARK,FAN BELT

SN: 1001-UP

1шт.

15

268-90-11340

MARK,AIR CLEANER

SN: 1001-UP

1шт.

16

266-90-31170

PLATE¤ MARK,WATER

SN: 1061-UP

1шт.

17

268-90-11350

MARK,CAUTION

SN: 1061-UP

1шт.

18

268-90-11360

MARK,BATTERY

SN: 1101-UP

1шт.

19

268-90-11370

MARK,COMPRESSION RELEASE

SN: 1101-UP

1шт.

20

268-90-11380

MARK,KEY SWITCH

SN: 1101-UP

1шт.

Выбрано товаров: 23