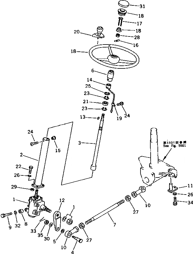
Запчасти Komatsu JV16R-2 РУЛЕВОЕ КОЛЕСО СИСТЕМА УПРАВЛЕНИЯ

Схема запчастей Komatsu JV16R-2 - РУЛЕВОЕ КОЛЕСО СИСТЕМА УПРАВЛЕНИЯ
FIT
1:1
100%

Артикул

Название

Примечание

Количество

1

268-60-31910

GEAR,STEERING

SN: 2001-UP

1шт.

2

268-60-31300

POST

SN: 2001-UP

1шт.

3

268-60-31500

SHAFT

SN: 2001-UP

1шт.

4

268-60-31920

PIN

SN: 2001-UP

1шт.

5

268-60-31930

WASHER

SN: 2001-UP

1шт.

6

258-60-21600

PIPE,GUIDE

SN: 2001-UP

1шт.

7

268-60-31220

ROD

SN: 2001-UP

1шт.

8

268-05-40101

SPACER

SN: 2001-UP

3шт.

9

268-60-31940

BOLT

SN: 2001-UP

3шт.

10

268-60-31950

END,ROD

SN: 2001-UP

2шт.

11

268-60-31700

PIN

SN: 2001-UP

1шт.

12

268-60-31210

ARM

SN: 2001-UP

1шт.

13

265-60-12220

KEY

SN: 2001-UP

1шт.

14

268-60-13161

BUSHING

SN: 2001-UP

1шт.

15

268-60-13150

GROMMET

SN: 2001-UP

1шт.

16

268-60-13170

WASHER

SN: 2001-UP

1шт.

17

268-60-13180

BUTTON,HORN

SN: 2001-UP

1шт.

18

265-60-12800

HANDLE ASS'Y

SN: 2001-UP

1шт.

19

2691-2-16730

CLAMP

SN: 2001-UP

1шт.

20

258-85-11810

KNOB

SN: 2001-UP

1шт.

21

06006-06004

BEARING

SN: 2001-UP

1шт.

22

258-20-11221

BOLT

SN: 2001-UP

4шт.

23

04064-02012

RING,SNAP

SN: 2001-UP

2шт.

24

01220-40408

SCREW

SN: 2001-UP

2шт.

25

04065-04218

RING,SNAP

SN: 2001-UP

1шт.

26

01602-21030

WASHER,SPRING

SN: 2001-UP

5шт.

27

01582-12218

NUT

SN: 2001-UP

2шт.

28

01580-11008

NUT

SN: 2001-UP

1шт.

29

268-60-31280

SPACER

SN: 2001-UP

4шт.

30

268-30-14330

WASHER

SN: 2001-UP

1шт.

31

265-60-12880

COVER

SN: 2001-UP

1шт.

32

01602-21236

WASHER,SPRING

SN: 2001-UP

3шт.

33

04050-14035

PIN,COTTER

SN: 2001-UP

1шт.

34

01010-51025

BOLT

SN: 2001-UP

1шт.

35

01593-31613

NUT

SN: 2001-UP

1шт.

Выбрано товаров: 35