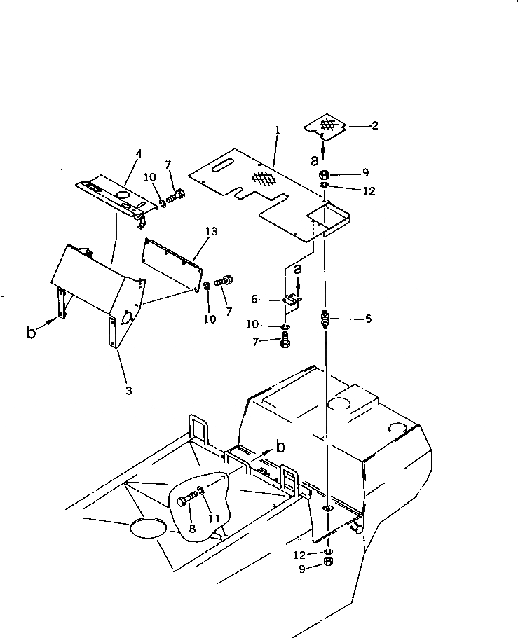
Запчасти Komatsu JV16R-2 ПРИБОРНАЯ ПАНЕЛЬ И COVER ЧАСТИ КОРПУСА

Схема запчастей Komatsu JV16R-2 - ПРИБОРНАЯ ПАНЕЛЬ И COVER ЧАСТИ КОРПУСА
FIT
1:1
100%

Артикул

Название

Примечание

Количество

1

268-10-33800

PLATE,FLOOR

SN: 2001-UP

1шт.

2

268-10-33910

COVER

SN: 2001-UP

1шт.

3

268-10-34100

DASHBOARD

SN: 2001-UP

1шт.

4

268-10-34500

COVER

SN: 2001-UP

1шт.

5

258-10-13930

CUSHION,RUBBER

SN: 2001-UP

4шт.

6

257-10-15620

HINGE

SN: 2001-UP

1шт.

7

01010-50816

BOLT

SN: 2001-UP

10шт.

8

01010-51020

BOLT

SN: 2001-UP

4шт.

9

01580-10605

NUT

SN: 2001-UP

8шт.

10

01602-20825

WASHER,SPRING

SN: 2001-UP

10шт.

11

01602-21030

WASHER,SPRING

SN: 2001-UP

4шт.

12

01602-20619

WASHER,SPRING

SN: 2001-UP

8шт.

13

268-10-34610

COVER

SN: 2001-UP

1шт.

Выбрано товаров: 13