Запчасти Komatsu JV16R-2 МАСЛ. БАК И PIING УПРАВЛ-Е РАБОЧИМ ОБОРУДОВАНИЕМ

Схема запчастей Komatsu JV16R-2 - МАСЛ. БАК И PIING УПРАВЛ-Е РАБОЧИМ ОБОРУДОВАНИЕМ
FIT
1:1
100%

Артикул

Название

Примечание

Количество

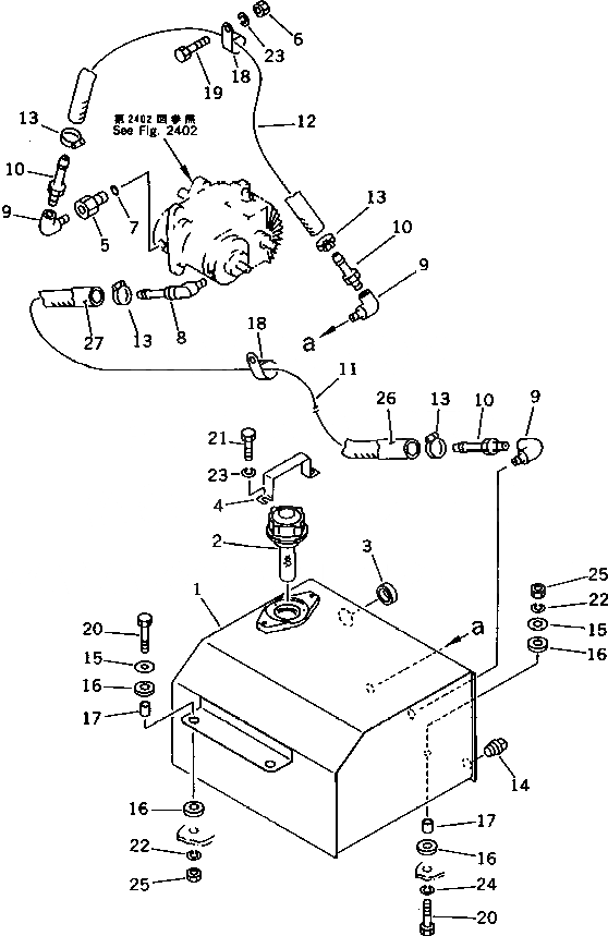
1

268-80-32100

TANK

SN: 2001-UP

1шт.

2

257-80-12300

CAP

SN: 2001-UP

1шт.

3

265-30-13500

GAUGE

SN: 2001-UP

1шт.

4

257-80-12410

COVER

SN: 2001-UP

1шт.

5

267-13-91204

NIPPLE

SN: 2001-UP

1шт.

6

01580-10806

NUT

SN: 2001-UP

2шт.

7

2692-8-16220

O-RING

SN: 2001-UP

1шт.

8

268-80-38200

ELBOW

SN: 2001-UP

1шт.

9

258-07-01204

ELBOW

SN: 2001-UP

3шт.

10

267-11-51019

NIPPLE

SN: 2001-UP

3шт.

11

267-18-19100

HOSE

SN: 2001-UP

1шт.

12

267-18-19120

HOSE

SN: 2001-UP

1шт.

13

07280-02923

CLAMP

SN: 2001-UP

4шт.

14

07042-00415

PLUG

SN: 2001-UP

1шт.

15

268-30-12360

WASHER

SN: 2001-UP

4шт.

16

258-80-22540

PAD

SN: 2001-UP

8шт.

17

268-80-32310

PIPE

SN: 2001-UP

4шт.

18

265-82-13030

CLIP

SN: 2001-UP

2шт.

19

01010-50820

BOLT

SN: 2001-UP

2шт.

20

01010-51050

BOLT

SN: 2001-UP

4шт.

21

01010-50816

BOLT

SN: 2001-UP

2шт.

22

01602-21030

WASHER,SPRING

SN: 2001-UP

4шт.

23

01602-20825

WASHER,SPRING

SN: 2001-UP

4шт.

24

01640-21016

WASHER

SN: 2001-UP

2шт.

25

01580-11008

NUT

SN: 2001-UP

4шт.

26

268-80-38910

PROTECTOR

SN: 2001-UP

1шт.

27

268-80-38920

PROTECTOR

SN: 2001-UP

1шт.

Выбрано товаров: 27