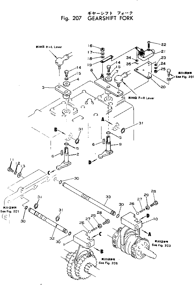
Запчасти Komatsu JV25-3 ПРИВОДВИЛКА ПЕРЕКЛЮЧЕНИЯ ТРАНСМИССИЯ И ТОРМОЗ.

Схема запчастей Komatsu JV25-3 - ПРИВОДВИЛКА ПЕРЕКЛЮЧЕНИЯ ТРАНСМИССИЯ И ТОРМОЗ.
FIT
1:1
100%

Артикул

Название

Примечание

Количество

1

266-30-45700

FORK

SN: 4501-UP

1шт.

2

268-30-15300

ARM

SN: 4501-UP

1шт.

3

266-30-45800

LEVER

SN: 4501-UP

1шт.

4

268-60-12140

WASHER

SN: 4501-UP

1шт.

5

07000-02016

O-RING

SN: 4501-UP

2шт.

6

04000-00525

KEY

SN: 4501-UP

2шт.

7

268-60-12140

WASHER

SN: 4501-UP

1шт.

8

266-30-45400

LEVER

SN: 4501-UP

1шт.

9

268-30-15300

ARM

SN: 4501-UP

1шт.

10

266-30-45200

FORK

SN: 4501-UP

1шт.

11

01010-30816

BOLT

SN: 4501-UP

2шт.

12

01602-00825

WASHER

SN: 4501-UP

2шт.

13

01640-00816

WASHER

SN: 4501-UP

2шт.

14

01010-30820

BOLT

SN: 4501-UP

2шт.

15

01602-00825

WASHER

SN: 4501-UP

2шт.

16

01580-00605

NUT

SN: 4501-UP

1шт.

17

01602-00619

WASHER

SN: 4501-UP

1шт.

18

01641-00608

WASHER

SN: 4501-UP

1шт.

19

266-30-41900

LEVER

SN: 4501-UP

1шт.

20

266-30-41820

BRACKET

SN: 4501-UP

1шт.

21

266-30-41810

SWITCH

SN: 4501-UP

1шт.

22

01220-30430

SCREW

SN: 4501-UP

2шт.

23

01641-00405

WASHER

SN: 4501-UP

2шт.

24

01601-00410

WASHER

SN: 4501-UP

2шт.

25

01580-00403

NUT

SN: 4501-UP

2шт.

26

267-09-10000

BALL

SN: 4501-UP

2шт.

27

265-30-24131

SPRING

SN: 4501-UP

2шт.

28

01010-31225

BOLT

SN: 4501-UP

2шт.

29

01580-01008

NUT

SN: 4501-UP

2шт.

30

07000-02016

O-RING

SN: 4501-UP

4шт.

31

04064-01812

RING

SN: 4501-UP

4шт.

32

266-30-45160

ROD,H-L

SN: 4501-UP

1шт.

33

266-30-45110

ROD,F-R

SN: 4501-UP

1шт.

34

01641-00508

WASHER

SN: 4501-UP

1шт.

35

04050-01612

PIN

SN: 4501-UP

1шт.

Выбрано товаров: 35