Запчасти Komatsu JV25-3 COMP. RELEASE РЫЧАГ¤ ВЫХЛОПНАЯ ТРУБА И ENG. КРЕПЛЕНИЕ БОЛТ(/) ДВИГАТЕЛЬ¤ КОМПОНЕНТЫ ДВИГАТЕЛЯ И ЭЛЕКТРИКА

Схема запчастей Komatsu JV25-3 - COMP. RELEASE РЫЧАГ¤ ВЫХЛОПНАЯ ТРУБА И ENG. КРЕПЛЕНИЕ БОЛТ(/) ДВИГАТЕЛЬ¤ КОМПОНЕНТЫ ДВИГАТЕЛЯ И ЭЛЕКТРИКА
FIT
1:1
100%

Артикул

Название

Примечание

Количество

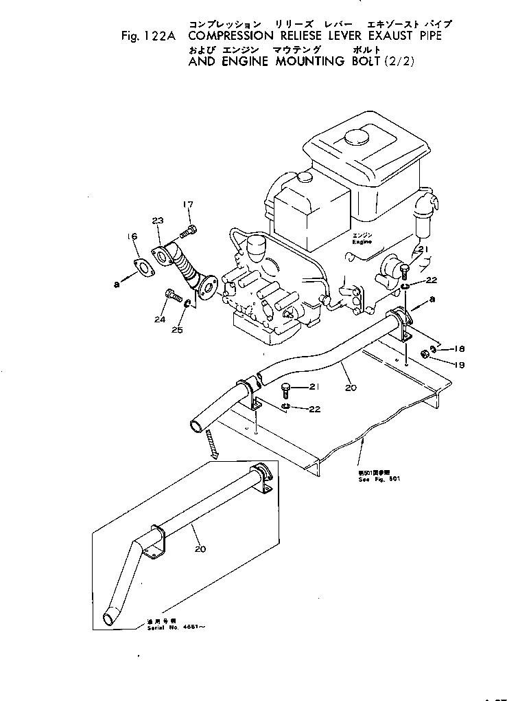
1

266-20-48520

WIRE

SN: 4501-UP

1шт.

2

2691-2-15600

BRACKET

SN: 4501-UP

1шт.

3

01580-00806

NUT

SN: 4501-UP

2шт.

4

266-20-38530

BOLT

SN: 4501-UP

1шт.

5

265-82-12008

CLIP

SN: 4501-UP

1шт.

6

01010-30612

BOLT

SN: 4501-UP

2шт.

7

01602-00619

WASHER

SN: 4501-UP

3шт.

8

2691-2-15420

SPRING

SN: 4501-UP

1шт.

9

2691-2-15530

COLLAR

SN: 4501-UP

1шт.

10

2691-2-15520

BLOCK

SN: 4501-UP

1шт.

11

2691-2-15510

LEVER

SN: 4501-UP

1шт.

12

01010-30616

BOLT

SN: 4501-UP

1шт.

13

01580-00605

NUT

SN: 4501-UP

3шт.

14

01640-20610

WASHER

SN: 4501-UP

2шт.

15

01010-30630

BOLT

SN: 4501-UP

1шт.

16

2691-2-17220

GASKET

SN: 4501-UP

1шт.

17

01010-30825

BOLT

SN: 4501-UP

2шт.

18

01602-00825

WASHER

SN: 4501-UP

2шт.

19

01580-00806

NUT

SN: 4501-UP

2шт.

20

266-20-44101

PIPE

SN: 4681-UP

1шт.

|20

266-20-44100

PIPE

SN: 4501-4680

1шт.

21

01010-31020

BOLT

SN: 4501-UP

4шт.

22

01602-01030

WASHER

SN: 4501-UP

4шт.

23

266-20-44400

PIPE

SN: 4501-UP

1шт.

24

01010-30820

BOLT

SN: 4501-UP

2шт.

25

01602-00825

WASHER

SN: 4501-UP

2шт.

26

01010-31445

BOLT

SN: 4501-UP

4шт.

27

01602-01442

WASHER

SN: 4501-UP

4шт.

28

01580-01411

NUT

SN: 4501-UP

4шт.

Выбрано товаров: 0