Запчасти Komatsu JV25-3A КОРПУС ТРАНСМИССИИ ТРАНСМИССИЯ И ТОРМОЗ.

Схема запчастей Komatsu JV25-3A - КОРПУС ТРАНСМИССИИ ТРАНСМИССИЯ И ТОРМОЗ.
FIT
1:1
100%

Артикул

Название

Примечание

Количество

|$0

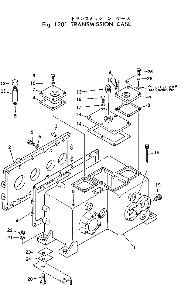
266-30-41100

CASE ASS'Y

SN: 5001-UP

1шт.

1

0

CASE

SN: 5001-UP

1шт.

2

0

CAP

SN: 5001-UP

1шт.

3

268-30-11130

PIN

SN: 5001-UP

2шт.

4

266-30-41140

GASKET

SN: 5001-UP

1шт.

5

01010-31030

BOLT

SN: 5001-UP

16шт.

6

01602-01030

WASHER

SN: 5001-UP

16шт.

7

268-30-11210

CAP

SN: 5001-UP

2шт.

8

268-30-11220

GASKET

SN: 5001-UP

2шт.

9

01010-30825

BOLT

SN: 5001-UP

6шт.

10

01602-00825

WASHER

SN: 5001-UP

6шт.

11

268-30-11240

PIPE

SN: 5001-UP

1шт.

12

02725-00617

CAP

SN: 5001-UP

1шт.

13

266-30-41250

CAP

SN: 5001-UP

1шт.

14

266-30-41260

GASKET

SN: 5001-UP

1шт.

15

07042-00167

PLUG

SN: 5001-UP

1шт.

16

01010-30825

BOLT

SN: 5001-UP

6шт.

17

01602-00825

WASHER

SN: 5001-UP

6шт.

18

266-30-11701

GAUGE

SN: 5001-UP

1шт.

19

265-30-21310

PLUG

SN: 5001-UP

1шт.

20

01010-31245

BOLT

SN: 5001-UP

4шт.

21

01602-01236

WASHER

SN: 5001-UP

4шт.

22

01580-01210

NUT

SN: 5001-UP

4шт.

|$23

265-30-22500

SHIM ASS'Y

SN: 5001-UP

2шт.

23

265-30-22510

SHIM, 0.1MM

SN: 5001-UP

1шт.

24

265-30-22520

SHIM, 0.3MM

SN: 5001-UP

1шт.

25

01010-30830

BOLT

SN: 5001-UP

2шт.

26

01602-00825

WASHER

SN: 5001-UP

2шт.

Выбрано товаров: 28