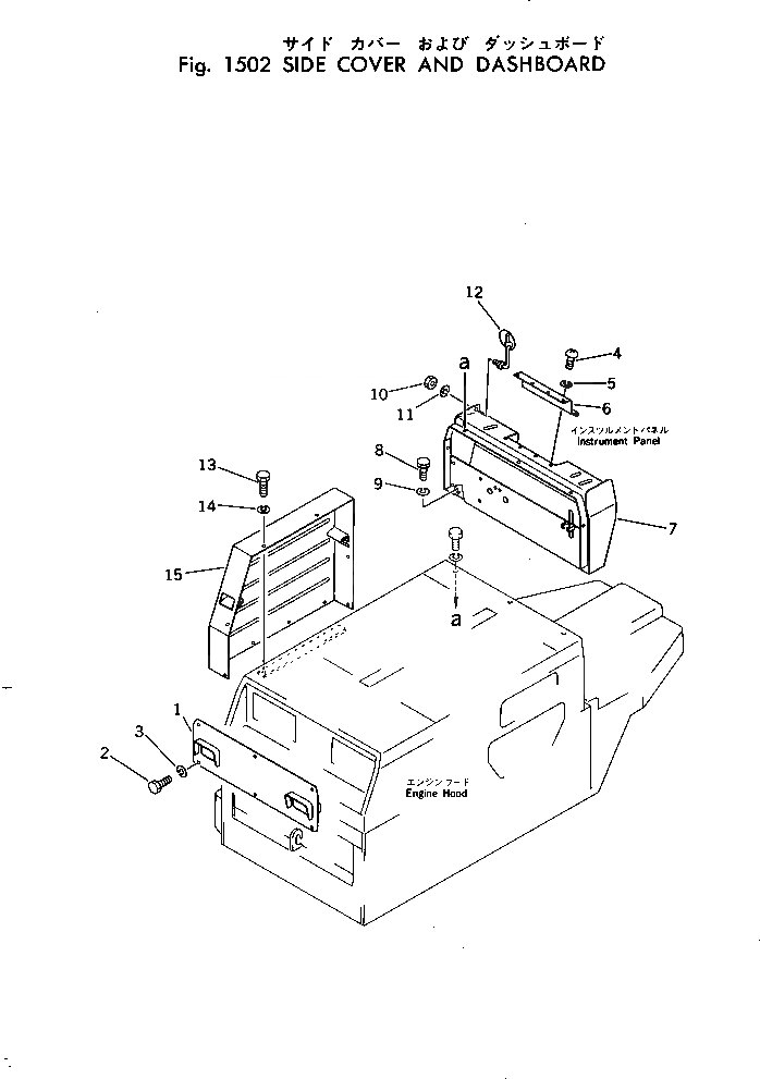
Запчасти Komatsu JV25-3A БОКОВ. КРЫШКА И ПРИБОРНАЯ ПАНЕЛЬ РАМА И КУЗОВ

Схема запчастей Komatsu JV25-3A - БОКОВ. КРЫШКА И ПРИБОРНАЯ ПАНЕЛЬ РАМА И КУЗОВ
FIT
1:1
100%

Артикул

Название

Примечание

Количество

1

266-10-45402

COVER

SN: 5001-UP

1шт.

2

01010-30816

BOLT

SN: 5001-UP

6шт.

3

01602-00825

WASHER

SN: 5001-UP

6шт.

4

01220-30612

SCREW

SN: 5001-UP

8шт.

5

01602-00619

WASHER

SN: 5001-UP

8шт.

6

266-10-46412

PANEL

SN: 5001-UP

1шт.

7

266-10-46102

DASHBOARD

SN: 5001-UP

1шт.

8

01010-31020

BOLT

SN: 5001-UP

3шт.

9

01602-01030

WASHER

SN: 5001-UP

3шт.

10

01580-01210

NUT

SN: 5001-UP

2шт.

11

01602-01236

WASHER

SN: 5001-UP

2шт.

12

266-90-12101

MIRROR

SN: 5001-UP

1шт.

13

01010-30816

BOLT

SN: 5001-UP

10шт.

14

01602-00825

WASHER

SN: 5001-UP

10шт.

15

266-10-45500

COVER

SN: 5001-UP

1шт.

Выбрано товаров: 15