Запчасти Komatsu JV25-3A КОНЕЧНАЯ ПЕРЕДАЧА РОЛИК И КОНЕЧНАЯ ПЕРЕДАЧА

Схема запчастей Komatsu JV25-3A - КОНЕЧНАЯ ПЕРЕДАЧА РОЛИК И КОНЕЧНАЯ ПЕРЕДАЧА
FIT
1:1
100%

Артикул

Название

Примечание

Количество

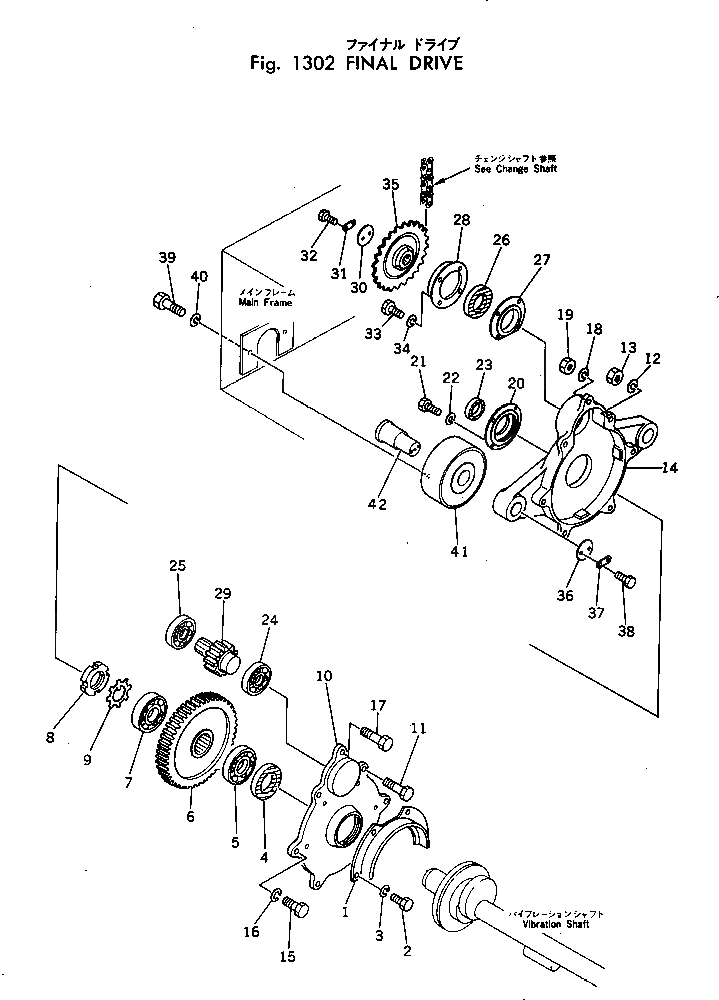
1

266-40-4180O

COVER

SN: 5001-UP

1шт.

2

01010-31016

BOLT

SN: 5001-UP

4шт.

3

01602-01030

WASHER

SN: 5001-UP

4шт.

4

267-94-23090

SEAL

SN: 5001-UP

1шт.

5

06000-06215

BEARING

SN: 5001-UP

1шт.

6

266-40-41420

GEAR

SN: 5001-UP

1шт.

7

06000-06213

BEARING

SN: 5001-UP

1шт.

8

265-06-13000

NUT

SN: 5001-UP

1шт.

9

256-07-13000

WASHER

SN: 5001-UP

1шт.

|10

266-40-41200

GEAR CASE ASS'Y

SN: 5001-UP

1шт.

10

266-40-41210

CASE

SN: 5001-UP

1шт.

11

2691-4-11250

BOLT

SN: 5001-UP

2шт.

12

01602-01648

WASHER

SN: 5001-UP

2шт.

13

01580-01613

NUT

SN: 5001-UP

2шт.

14

266-40-41220

CASE

SN: 5001-UP

1шт.

15

01010-31645

BOLT

SN: 5001-UP

2шт.

16

01602-01648

WASHER

SN: 5001-UP

2шт.

17

01010-31650

BOLT

SN: 5001-UP

3шт.

18

01602-01648

WASHER

SN: 5001-UP

3шт.

19

01580-01613

NUT

SN: 5001-UP

3шт.

20

2691-4-11240

CAP

SN: 5001-UP

1шт.

21

01010-30825

BOLT

SN: 5001-UP

4шт.

22

01602-00825

WASHER

SN: 5001-UP

4шт.

23

267-94-22055

SEAL

SN: 5001-UP

1шт.

24

06000-06310

BEARING

SN: 5001-UP

1шт.

25

06000-06211

BEARING

SN: 5001-UP

1шт.

26

267-94-23070

SEAL

SN: 5001-UP

1шт.

27

2691-4-11230

CAP

SN: 5001-UP

1шт.

28

2691-4-13100

SEAL

SN: 5001-UP

1шт.

29

266-40-41410

PINION

SN: 5001-UP

1шт.

30

2691-4-12520

WASHER

SN: 5001-UP

1шт.

31

2691-4-12530

WASHER

SN: 5001-UP

1шт.

32

01010-31020

BOLT

SN: 5001-UP

2шт.

33

01010-30825

BOLT

SN: 5001-UP

4шт.

34

01602-00825

WASHER

SN: 5001-UP

4шт.

35

266-40-41300

SPROCKET

SN: 5001-UP

1шт.

36

2691-4-12520

WASHER

SN: 5001-UP

2шт.

37

2691-4-12530

WASHER

SN: 5001-UP

2шт.

38

01010-31020

BOLT

SN: 5001-UP

4шт.

39

01010-31630

BOLT

SN: 5001-UP

4шт.

40

01602-01648

WASHER

SN: 5001-UP

4шт.

41

2691-4-12700

CUSHION

SN: 5001-UP

2шт.

42

2691-4-12510

STUD

SN: 5001-UP

2шт.

Выбрано товаров: 43