Качественные детали и логистика
Оригинальные и аналоговые запчасти с доставкой по России, Казахстану и Беларуси
©2022 PartSell ООО "Система" ИНН 2463123282 ОГРН 1212400004838
Центральный офис: г. Красноярск, Академика Киренского, д.87, пом.4
Телефон: 8 (800) 777-65-74 Email: zakaz@partsell.ru
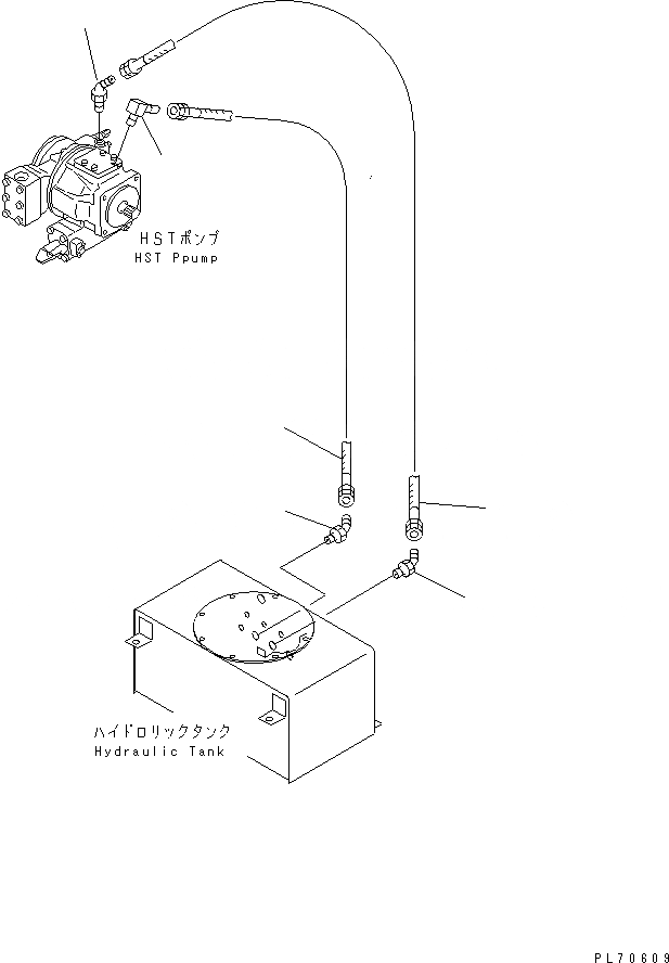
ГИДРОЛИНИЯ (HST ЛИНИЯ НАСОСА)
№
Артикул
Название
Примечание
Количество
1
267-97-50445
HOSE
SN: 7201-UP
1шт.
2
258-07-02214
ELBOW
2шт.
3
267-97-50448
4
258-07-02224
5
Выбрано товаров: 0