Запчасти Komatsu JV25CW-1 МАСЛ. БАК УПРАВЛ-Е РАБОЧИМ ОБОРУДОВАНИЕМ

Схема запчастей Komatsu JV25CW-1 - МАСЛ. БАК УПРАВЛ-Е РАБОЧИМ ОБОРУДОВАНИЕМ
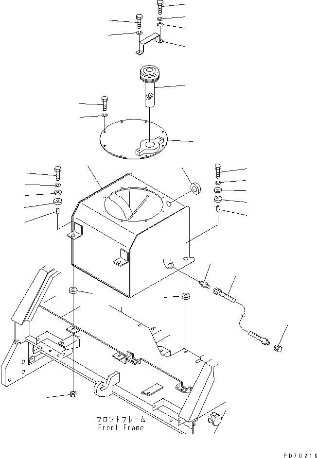
1
2
3
3
4
4
5
6
7
8
8
9
9
10
11
12
13
14
14
14
14
15
15
16
16
17
18
19
FIT
1:1
100%

Артикул

Название

Примечание

Количество

1

2691-8-42100

TANK

SN: 1001-UP

1шт.

2

265-30-13500

GAUGE

SN: 1001-UP

1шт.

3

01010-50816

BOLT

SN: 1001-UP

2шт.

4

01602-20825

WASHER,SPRING

SN: 1001-UP

2шт.

5

01641-20812

WASHER

SN: 1001-UP

1шт.

6

257-80-12300

CAP

SN: 1001-UP

1шт.

7

257-80-12410

COVER

SN: 1001-UP

1шт.

8

01010-51050

BOLT

SN: 1001-UP

4шт.

9

01602-21030

WASHER,SPRING

SN: 1001-UP

4шт.

10

01580-11008

NUT

SN: 1001-UP

2шт.

11

258-80-12521

HOSE

SN: 1001-UP

1шт.

12

267-11-31004

NIPPLE

SN: 1001-UP

1шт.

13

267-15-41144

CAP

SN: 1001-UP

1шт.

14

258-80-22540

PAD

SN: 1001-UP

8шт.

15

258-80-28251

PIPE

SN: 1001-UP

4шт.

16

268-30-12360

WASHER

SN: 1001-UP

4шт.

17

258-80-22600

COVER

SN: 1001-UP

1шт.

18

01010-50816

BOLT

SN: 1001-UP

8шт.

19

01602-20825

WASHER,SPRING

SN: 1001-UP

8шт.

Выбрано товаров: 19