Запчасти Komatsu JV25DW-1 VIBRATION ТРУБЫ (/) УПРАВЛ-Е РАБОЧИМ ОБОРУДОВАНИЕМ

Схема запчастей Komatsu JV25DW-1 - VIBRATION ТРУБЫ (/) УПРАВЛ-Е РАБОЧИМ ОБОРУДОВАНИЕМ
FIT
1:1
100%

Артикул

Название

Примечание

Количество

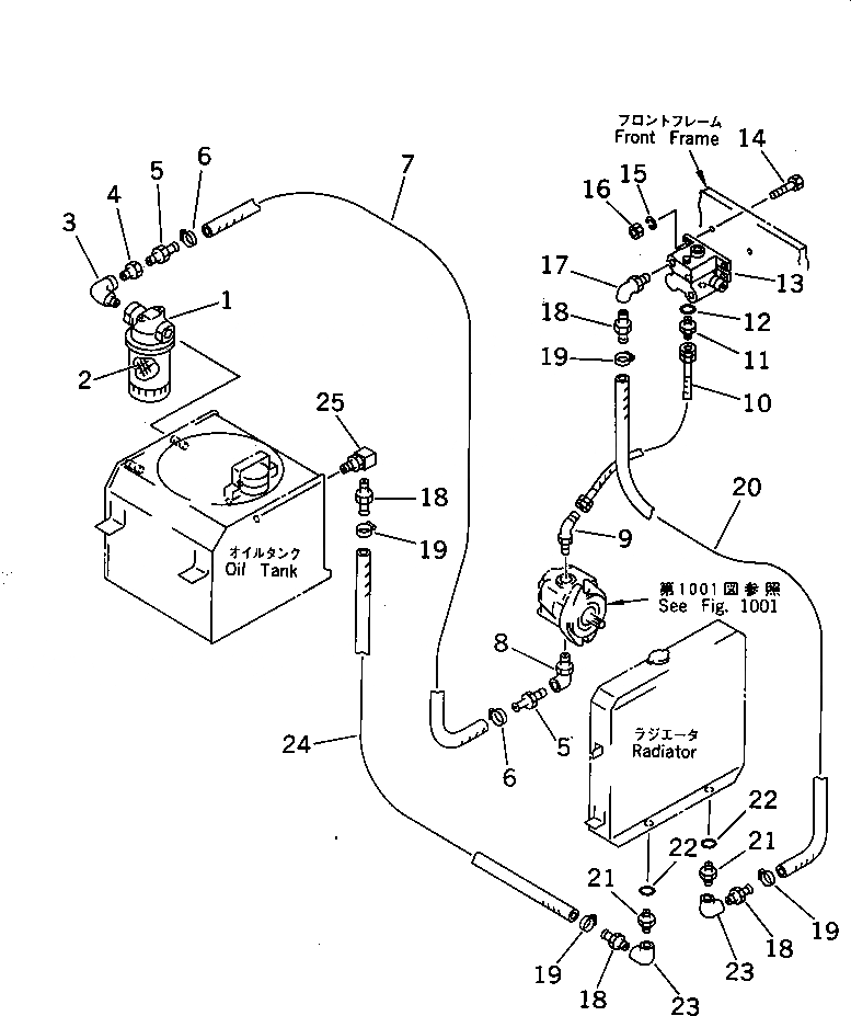
1

2691-8-37300

FILTER ASS'Y

SN: 1001-UP

1шт.

2

2691-8-37310

ELEMENT

SN: 1001-UP

1шт.

3

258-07-01208

ELBOW

SN: 1001-UP

1шт.

4

267-11-11084

BUSHING

SN: 1001-UP

1шт.

5

267-11-51019

NIPPLE

SN: 1001-UP

2шт.

6

07280-02923

CLAMP

SN: 1001-UP

2шт.

7

267-18-19140

HOSE

SN: 1001-UP

1шт.

8

258-07-03664

ELBOW

SN: 1001-UP

1шт.

9

258-07-02224

ELBOW

SN: 1001-UP

1шт.

10

267-97-50475

HOSE

SN: 1001-UP

1шт.

11

267-13-60604

NIPPLE

SN: 1001-UP

1шт.

12

258-08-11024

O-RING

SN: 1001-UP

1шт.

13

258-30-21500

VALVE

SN: 1001-UP

1шт.

|13

258-30-21510

SOLENOID

SN: 1001-UP

1шт.

14

01010-51035

BOLT

SN: 1001-UP

3шт.

15

01602-01030

WASHER,SPRING

SN: 1001-UP

3шт.

16

01580-11008

NUT

SN: 1001-UP

3шт.

17

258-07-03664

ELBOW

SN: 1001-UP

1шт.

18

267-11-51019

NIPPLE

SN: 1001-UP

4шт.

19

07280-02923

CLAMP

SN: 1001-UP

4шт.

20

267-18-19160

HOSE

SN: 1001-UP

1шт.

21

258-80-18351

BUSHING

SN: 1001-UP

2шт.

22

07000-12020

O-RING

SN: 1001-UP

2шт.

23

258-07-01004

ELBOW

SN: 1001-UP

2шт.

24

267-18-19096

HOSE

SN: 1001-UP

1шт.

25

258-07-03644

ELBOW

SN: 1001-UP

1шт.

Выбрано товаров: 0