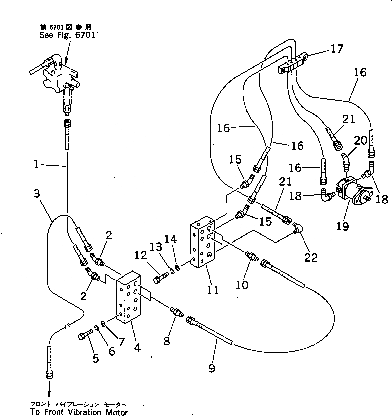
Запчасти Komatsu JV25DW-1 VIBRATION ТРУБЫ (ЗАДН.) УПРАВЛ-Е РАБОЧИМ ОБОРУДОВАНИЕМ

Схема запчастей Komatsu JV25DW-1 - VIBRATION ТРУБЫ (ЗАДН.) УПРАВЛ-Е РАБОЧИМ ОБОРУДОВАНИЕМ
FIT
1:1
100%

Артикул

Название

Примечание

Количество

1

267-97-50326

HOSE

SN: 1001-UP

1шт.

2

258-07-02213

ELBOW

SN: 1001-UP

2шт.

3

267-97-60225

HOSE

SN: 1001-UP

1шт.

4

2691-8-48150

SOCKET

SN: 1001-UP

1шт.

5

01010-50825

BOLT

SN: 1001-UP

3шт.

6

01602-20825

WASHER,SPRING

SN: 1001-UP

3шт.

7

01640-20816

WASHER

SN: 1001-UP

3шт.

8

267-13-10303

NIPPLE

SN: 1001-UP

2шт.

9

267-97-52343

HOSE

SN: 1001-UP

2шт.

10

267-13-10303

NIPPLE

SN: 1001-UP

2шт.

11

2691-8-48210

SOCKET

SN: 1001-UP

1шт.

12

01010-50825

BOLT

SN: 1001-UP

3шт.

13

01602-20825

WASHER,SPRING

SN: 1001-UP

3шт.

14

01640-20816

WASHER

SN: 1001-UP

3шт.

15

258-07-02213

ELBOW

SN: 1001-UP

2шт.

16

267-97-50375

HOSE

SN: 1001-UP

2шт.

17

2691-8-48240

SUPPORT

SN: 1001-UP

1шт.

18

258-07-02222

ELBOW

SN: 1001-UP

2шт.

19

2691-3-41300

MOTOR

SN: 1001-UP

1шт.

20

258-07-02212

ELBOW

SN: 1001-UP

1шт.

21

267-97-50280

HOSE

SN: 1001-UP

1шт.

22

258-07-02222

ELBOW

SN: 1001-UP

1шт.

Выбрано товаров: 22