Запчасти Komatsu JV25W-1 ЗАДН. СКРЕППЕР (/) ГУСЕНИЦЫ

Схема запчастей Komatsu JV25W-1 - ЗАДН. СКРЕППЕР (/) ГУСЕНИЦЫ
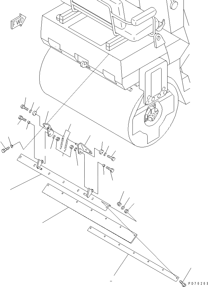
1
2
3
4
5
6
7
7
8
8
9
9
10
10
11
12
13
14
15
16
17
18
18
19
19
FIT
1:1
100%

Артикул

Название

Примечание

Количество

1

258-01-28120

SPRING

SN: 5001-UP

2шт.

2

266-10-78320

PLATE

SN: 5006-UP

1шт.

|2

266-10-68320

PLATE

SN: 5001-5005

1шт.

3

2691-1-49600

BRACKET

SN: 5001-UP

1шт.

4

266-10-78330

SCRAPER

SN: 5008-UP

1шт.

|4

266-10-68331

SCRAPER

SN: 5001-5007

1шт.

5

2691-1-49800

BRACKET

SN: 5001-UP

1шт.

6

2691-1-49700

BRACKET

SN: 5001-UP

1шт.

7

2691-1-48910

STOPPER

SN: 5001-UP

2шт.

8

2691-1-48920

SPACER

SN: 5001-UP

2шт.

9

01010-51645

BOLT

SN: 5001-UP

2шт.

10

01602-01648

WASHER,SPRING

SN: 5001-UP

2шт.

11

01580-11613

NUT

SN: 5001-UP

2шт.

12

01010-51030

BOLT

SN: 5001-UP

4шт.

13

01602-21030

WASHER,SPRING

SN: 5001-UP

4шт.

14

268-30-13620

WASHER

SN: 5001-UP

7шт.

15

01010-51040

BOLT

SN: 5001-UP

7шт.

16

01602-21030

WASHER,SPRING

SN: 5001-UP

7шт.

17

01580-11008

NUT

SN: 5001-UP

7шт.

18

01010-50830

BOLT

SN: 5001-UP

7шт.

19

01602-20825

WASHER,SPRING

SN: 5001-UP

2шт.

Выбрано товаров: 21