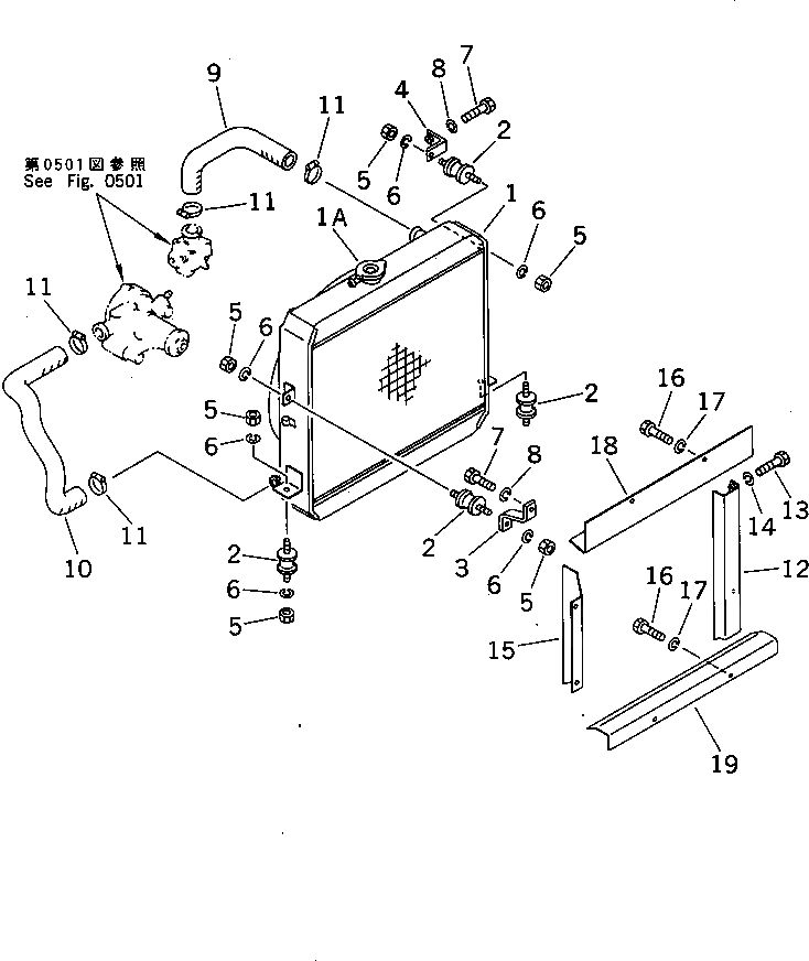
Запчасти Komatsu JV25W-1 РАДИАТОР И КРЕПЛЕНИЕ КОМПОНЕНТЫ ДВИГАТЕЛЯ И ЭЛЕКТРИКА

Схема запчастей Komatsu JV25W-1 - РАДИАТОР И КРЕПЛЕНИЕ КОМПОНЕНТЫ ДВИГАТЕЛЯ И ЭЛЕКТРИКА
FIT
1:1
100%

Артикул

Название

Примечание

Количество

1

258-20-24100

RADIATOR ASS'Y

SN: 5001-UP

1шт.

1A

258-20-24110

CAP

SN: 5001-UP

1шт.

2

257-20-14310

CUSHION

SN: 5001-UP

4шт.

3

2691-2-44320

BRACKET

SN: 5001-UP

1шт.

4

258-20-24330

BRACKET

SN: 5001-UP

1шт.

5

01580-10806

NUT

SN: 5001-UP

8шт.

6

01602-20825

WASHER,SPRING

SN: 5001-UP

8шт.

7

01010-30820

BOLT

SN: 5001-UP

2шт.

8

01602-20825

WASHER,SPRING

SN: 5001-UP

2шт.

9

YM121400-49011

HOSE

SN: 5001-UP

1шт.

10

YM171301-49020

HOSE

SN: 5001-UP

1шт.

11

07280-03826

CLAMP

SN: 5001-UP

4шт.

12

258-20-24602

SHROUD

SN: 5001-UP

1шт.

13

01010-30825

BOLT

SN: 5001-UP

2шт.

14

01602-20825

WASHER,SPRING

SN: 5001-UP

2шт.

15

2691-2-44520

SHROUD

SN: 5001-UP

1шт.

16

01010-50812

BOLT

SN: 5001-UP

6шт.

17

01602-20825

WASHER,SPRING

SN: 5001-UP

6шт.

18

2691-2-44530

SHROUD

SN: 5001-UP

1шт.

19

258-20-24542

SHROUD

SN: 5001-UP

1шт.

Выбрано товаров: 0