Запчасти Komatsu JV28-1 SPEED РЫЧАГ УПРАВЛ-Я ДВИГАТЕЛЬ¤ КОМПОНЕНТЫ ДВИГАТЕЛЯ И ЭЛЕКТРИКА

Схема запчастей Komatsu JV28-1 - SPEED РЫЧАГ УПРАВЛ-Я ДВИГАТЕЛЬ¤ КОМПОНЕНТЫ ДВИГАТЕЛЯ И ЭЛЕКТРИКА
FIT
1:1
100%

Артикул

Название

Примечание

Количество

|$0

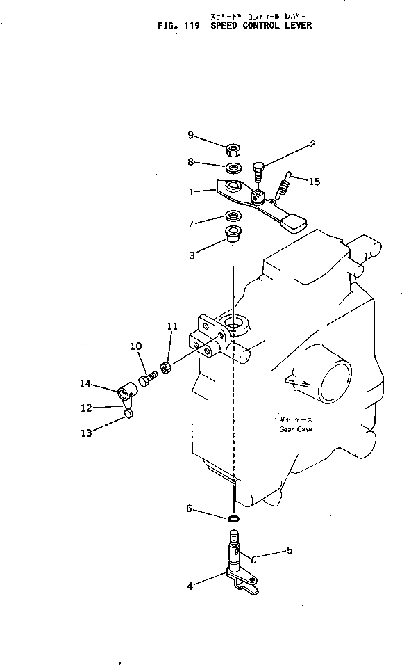
266-20-59100

ENGINE ASS'Y

SN: 1001-UP

1шт.

|$1

KT14911-5704-1

LEVER ASS'Y,SPEED CONTROL

SN: 1001-UP

1шт.

1

KT14911-5705-3

LEVER ASS'Y

SN: 1001-UP

1шт.

2

KT01220-50610

BOLT

SN: 1001-UP

1шт.

3

KT14941-5717-2

SUPPORT

SN: 1001-UP

1шт.

4

KT14911-5723-2

SHAFT

SN: 1001-UP

1шт.

5

KT15261-9501-1

KEY

SN: 1001-UP

1шт.

6

KT04811-10080

O-RING

SN: 1001-UP

1шт.

7

KT14941-7565-1

PLATE

SN: 1001-UP

1шт.

8

KT04013-50080

WASHER

SN: 1001-UP

1шт.

9

KT02114-50080

NUT

SN: 1001-UP

2шт.

10

KT15108-5728-3

STOPPER

SN: 1001-UP

2шт.

11

KT02014-50060

NUT

SN: 1001-UP

2шт.

12

KT07811-11210

WIRE

SN: 1001-UP

1шт.

13

KT07918-00001

LEAD

SN: 1001-UP

1шт.

14

KT14911-5696-1

PIPE

SN: 1001-UP

1шт.

15

KT14911-5654-2

SPRING

SN: 1001-UP

1шт.

Выбрано товаров: 17