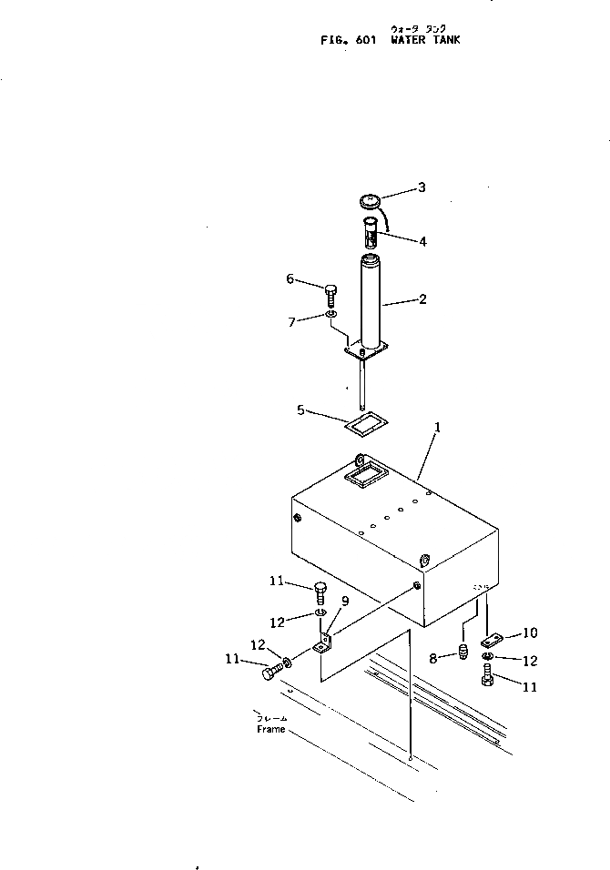
Запчасти Komatsu JV28-1 ВОДН. БАК СИСТЕМА РАЗБРЫЗГИВАНИЯ ВОДЫ И МАСЛ. БАК

Схема запчастей Komatsu JV28-1 - ВОДН. БАК СИСТЕМА РАЗБРЫЗГИВАНИЯ ВОДЫ И МАСЛ. БАК
FIT
1:1
100%

Артикул

Название

Примечание

Количество

1

266-80-52100

TANK

SN: 1001-UP

1шт.

2

266-80-51100

PIPE ASS'Y

SN: 1001-UP

1шт.

3

257-20-25321

CAP

SN: 1001-UP

1шт.

4

258-20-17410

STRAINER

SN: 1001-UP

1шт.

5

266-80-41570

GASKET

SN: 1001-UP

1шт.

6

01010-30816

BOLT

SN: 1001-UP

6шт.

7

01602-00825

WASHER

SN: 1001-UP

6шт.

8

07042-01019

PLUG

SN: 1001-UP

1шт.

9

266-80-41580

BRACKET

SN: 1001-UP

2шт.

10

266-80-41560

BRACKET

SN: 1001-UP

2шт.

11

01010-31230

BOLT

SN: 1001-UP

8шт.

12

01602-01236

WASHER

SN: 1001-UP

8шт.

Выбрано товаров: 12