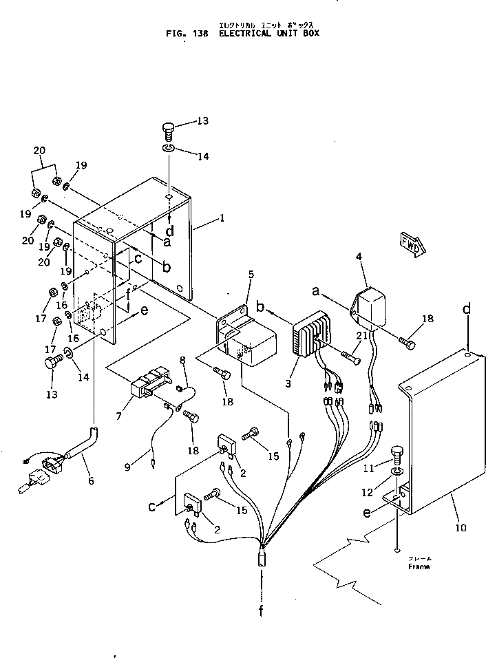
Запчасти Komatsu JV28-1 ЭЛЕКТР. БЛОК КОРПУС ДВИГАТЕЛЬ¤ КОМПОНЕНТЫ ДВИГАТЕЛЯ И ЭЛЕКТРИКА

Схема запчастей Komatsu JV28-1 - ЭЛЕКТР. БЛОК КОРПУС ДВИГАТЕЛЬ¤ КОМПОНЕНТЫ ДВИГАТЕЛЯ И ЭЛЕКТРИКА
FIT
1:1
100%

Артикул

Название

Примечание

Количество

1

266-20-56400

BOX

SN: 1001-UP

1шт.

2

2691-2-16810

RECTIFIER

SN: 1001-UP

2шт.

3

2691-2-16821

RECTIFIER

SN: 1001-UP

1шт.

4

2691-2-16830

LIMITER,CURRENT

SN: 1001-UP

1шт.

5

2691-2-16840

RELAY

SN: 1001-UP

1шт.

6

2691-2-16620

HARNESS

SN: 1001-UP

1шт.

7

2691-2-36840

RESISTOR

SN: 1001-UP

1шт.

8

2691-2-36640

CABLE

SN: 1001-UP

1шт.

9

266-20-56130

CABLE

SN: 1001-UP

1шт.

10

266-20-56500

BRACKET

SN: 1001-UP

1шт.

11

01010-30820

BOLT

SN: 1001-UP

2шт.

12

01602-00825

WASHER

SN: 1001-UP

2шт.

13

01010-30816

BOLT

SN: 1001-UP

4шт.

14

01602-00825

WASHER

SN: 1001-UP

4шт.

15

01220-40520

SCREW

SN: 1001-UP

2шт.

16

01602-00513

WASHER

SN: 1001-UP

2шт.

17

01580-00504

NUT

SN: 1001-UP

2шт.

18

01010-30616

BOLT

SN: 1001-UP

5шт.

19

01602-00619

WASHER

SN: 1001-UP

6шт.

20

01580-00605

NUT

SN: 1001-UP

6шт.

21

01220-40630

SCREW

SN: 1001-UP

1шт.

Выбрано товаров: 21