Запчасти Komatsu JV28-1 HST МОТОР (/) ТРАНСМИССИЯ И ТОРМОЗ.

Схема запчастей Komatsu JV28-1 - HST МОТОР (/) ТРАНСМИССИЯ И ТОРМОЗ.
FIT
1:1
100%

Артикул

Название

Примечание

Количество

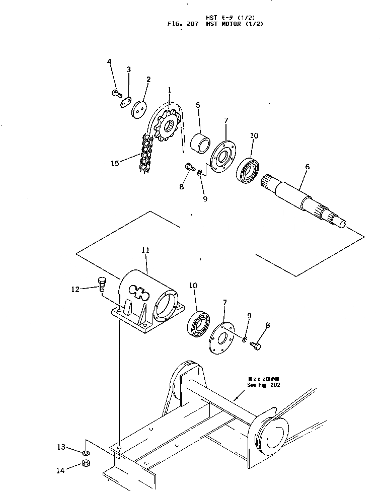
1

266-30-52110

SPROCKET

SN: 1001-UP

1шт.

2

2691-4-12520

WASHER

SN: 1001-UP

1шт.

3

2691-4-12530

WASHER

SN: 1001-UP

1шт.

4

01010-31025

BOLT

SN: 1001-UP

2шт.

5

266-30-52120

SPACER

SN: 1001-UP

1шт.

6

266-30-52130

SHAFT

SN: 1001-UP

1шт.

7

266-30-52140

CAP

SN: 1001-UP

2шт.

8

01010-30620

BOLT

SN: 1001-UP

12шт.

9

01602-00619

WASHER

SN: 1001-UP

12шт.

10

06009-06309

BEARING

SN: 1001-UP

2шт.

11

266-30-51610

CASE

SN: 1001-UP

1шт.

12

01010-31040

BOLT

SN: 1001-UP

4шт.

13

01602-01230

WASHER

SN: 1001-UP

4шт.

14

01580-01210

NUT

SN: 1001-UP

4шт.

15

04102-41045

CHAIN

SN: 1001-UP

1шт.

Выбрано товаров: 0