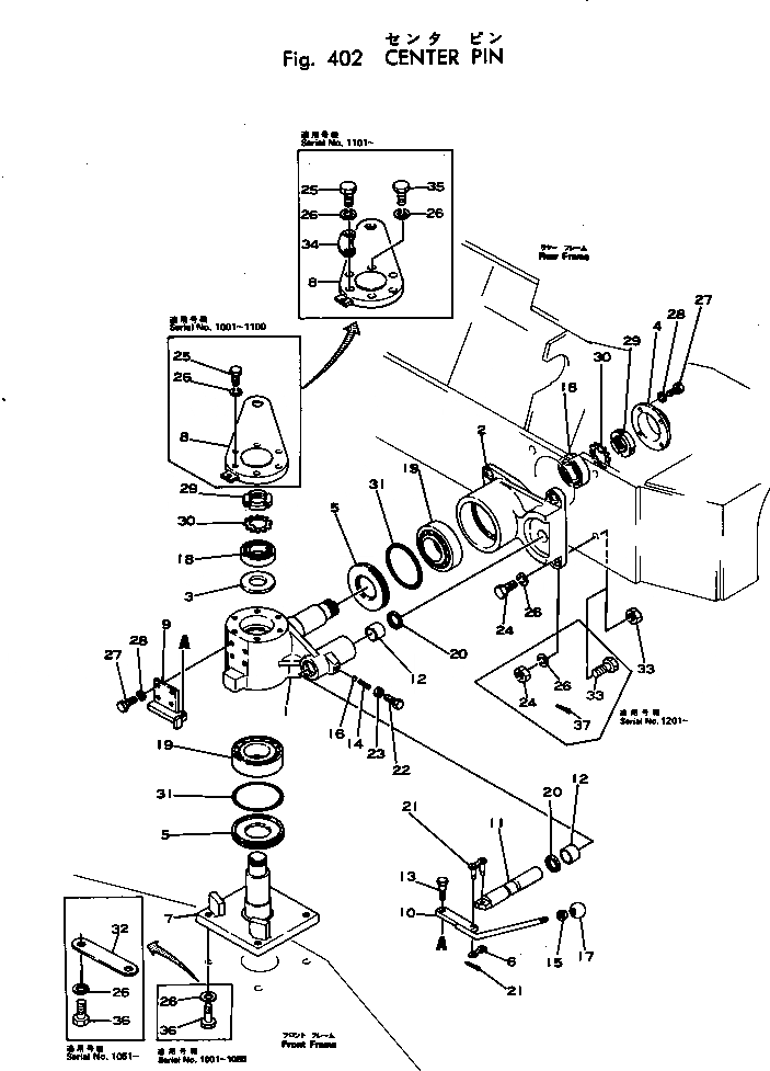
Запчасти Komatsu JV32W-1 ЦЕНТР. ПАЛЕЦ СИСТЕМАУПРАВЛЕНИЯ ПОВОРОТОМ

Схема запчастей Komatsu JV32W-1 - ЦЕНТР. ПАЛЕЦ СИСТЕМАУПРАВЛЕНИЯ ПОВОРОТОМ
FIT
1:1
100%

Артикул

Название

Примечание

Количество

1

2691-6-12101

PIN

SN: 1101-UP

1шт.

|1

2691-6-12100

PIN

SN: 1001-1100

1шт.

2

2691-6-12210

STOPPER

SN: 1001-UP

1шт.

3

2691-6-12220

SPACER

SN: 1001-UP

1шт.

4

2691-6-12230

CAP

SN: 1001-UP

1шт.

5

2691-6-12240

COLLAR

SN: 1001-UP

2шт.

6

2691-6-12250

SPACER

SN: 1001-UP

1шт.

7

2691-6-12300

PIN

SN: 1001-UP

1шт.

8

2691-6-12401

LEVER

SN: 1101-UP

1шт.

|8

2691-6-12400

LEVER

SN: 1001-1100

1шт.

9

2691-6-12600

BRACKET

SN: 1001-UP

1шт.

10

2691-6-12700

LEVER

SN: 1001-UP

1шт.

11

2691-6-12810

PIN

SN: 1001-UP

1шт.

12

2691-6-12820

BUSHING

SN: 1081-UP

1шт.

|12

2691-6-12820

BUSHING

SN: 1001-1080

2шт.

13

2691-6-12830

PIN

SN: 1001-UP

1шт.

14

265-30-24131

SPRING

SN: 1001-UP

1шт.

15

266-16-10000

NUT

SN: 1001-UP

1шт.

16

267-09-10000

BALL

SN: 1001-UP

1шт.

17

266-96-35010

KNOB

SN: 1001-UP

1шт.

18

06000-32208

BEARING

SN: 1001-UP

2шт.

19

06000-32212

BEARING

SN: 1001-UP

2шт.

20

267-95-11030

SEAL

SN: 1001-UP

2шт.

21

266-93-80001

LINK

SN: 1001-UP

1шт.

22

01010-31025

BOLT

SN: 1001-UP

1шт.

23

01580-01008

NUT

SN: 1001-UP

1шт.

24

01590-01619

NUT

SN: 1201-UP

4шт.

|24

01010-31655

BOLT

SN: 1101-1200

4шт.

|24

01010-31645

BOLT

SN: 1001-1100

8шт.

25

01010-31640

BOLT

SN: 1101-UP

6шт.

26

01602-01648

WASHER

SN: 1001-1100

14шт.

27

01010-30820

BOLT

SN: 1001-UP

8шт.

28

01602-00825

WASHER

SN: 1001-UP

8шт.

29

265-06-08000

NUT

SN: 1001-UP

2шт.

30

265-07-08000

WASHER

SN: 1001-UP

2шт.

31

07000-02105

O-RING

SN: 1001-UP

2шт.

32

2691-6-12840

WASHER

SN: 1051-UP

2шт.

33

01012-31665

BOLT

SN: 1201-UP

4шт.

|33

01580-01613

NUT

SN: 1051-1200

4шт.

34

2691-6-12850

WASHER

SN: 1101-UP

2шт.

35

2691-6-12860

BOLT

SN: 1101-UP

2шт.

36

01010-31645

BOLT

SN: 1001-UP

4шт.

37

04050-04030

PIN

SN: 1201-UP

4шт.

Выбрано товаров: 43