Запчасти Komatsu JV32W-2 ВПРЫСК PUNP ДВИГАТЕЛЬ¤ КОМПОНЕНТЫ ДВИГАТЕЛЯ И ЭЛЕКТРИКА

Схема запчастей Komatsu JV32W-2 - ВПРЫСК PUNP ДВИГАТЕЛЬ¤ КОМПОНЕНТЫ ДВИГАТЕЛЯ И ЭЛЕКТРИКА
FIT
1:1
100%

Артикул

Название

Примечание

Количество

|1

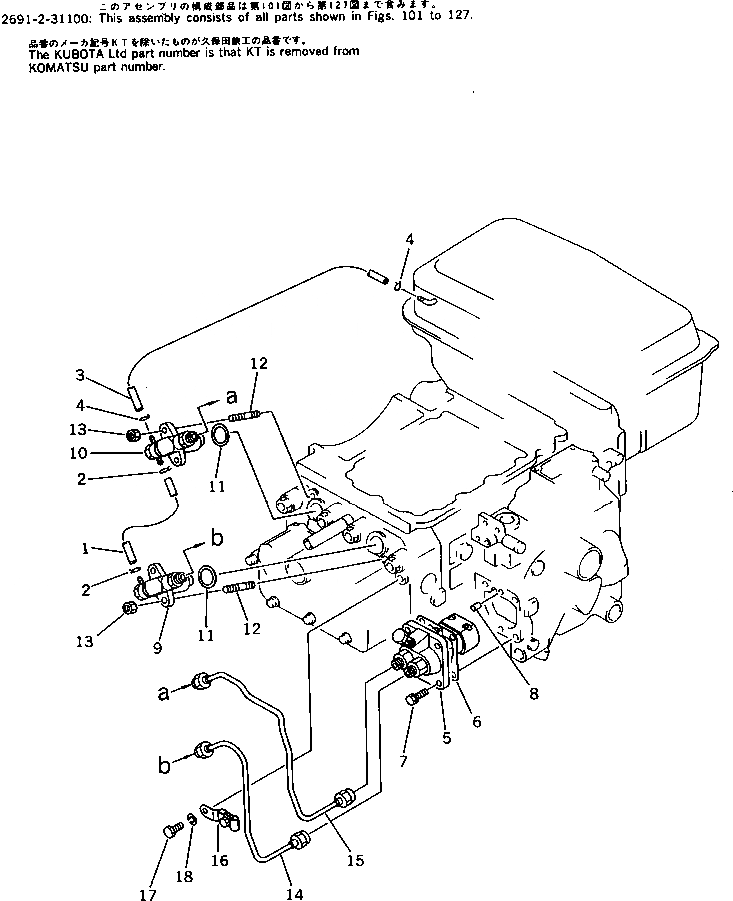
2691-2-31100

ENGINE ASS'Y

SN: 2501-UP

1шт.

|$$2

THIS ASSEMBLY CONSISTS OF ALL PARTS SHOWN IN FIGS.101 TO 127.

-1шт.

|$$3

THE KUBOTA PART NUMBER IS THAT KT IS REMOVED FROM KOMATSU PART NUMBER LISTED BELOW.

-1шт.

|1

KT14611-4240-1

PIPE ASS'Y

SN: 2501-UP

1шт.

1

KT14611-4251-3

PIPE

SN: 2501-UP

1шт.

2

KT10244-4232-1

CLIP

SN: 2501-UP

2шт.

|3

KT14952-4250-1

PIPE ASS'Y

SN: 2501-UP

1шт.

3

KT14952-4252-1

PIPE

SN: 2501-UP

1шт.

4

KT10244-4232-1

CLIP

SN: 2501-UP

2шт.

5

KT14952-5101-1

INJECTION PUMP A.

SN: 2501-UP

1шт.

6

KT15221-5211-3

SHIM

SN: 2501-UP

3шт.

7

KT01123-50825

BOLT

SN: 2501-UP

4шт.

8

KT05012-00608

PIN

SN: 2501-UP

2шт.

9

KT14941-5300-1

NOZZLE HOLDER ASS'Y

SN: 2501-UP

1шт.

10

KT14952-5300-1

NOZZLE HOLDER ASS'Y

SN: 2501-UP

1шт.

11

KT14102-5362-1

GASKET

SN: 2501-UP

2шт.

12

KT01513-50850

STUD

SN: 2501-UP

4шт.

13

KT02156-50080

NUT

SN: 2501-UP

4шт.

14

KT14952-5371-1

PIPE

SN: 2501-UP

1шт.

15

KT14952-5372-1

PIPE

SN: 2501-UP

1шт.

16

KT14952-5385-1

CLAMP

SN: 2501-UP

1шт.

17

KT01222-50816

BOLT

SN: 2501-UP

1шт.

Выбрано товаров: 0