Запчасти Komatsu JV32W-2 ЛЕНИВЕЦ ВАЛ И НАТЯЖНОЙ РОЛИК (/) ТРАНСМИССИЯ И ТОРМОЗ.

Схема запчастей Komatsu JV32W-2 - ЛЕНИВЕЦ ВАЛ И НАТЯЖНОЙ РОЛИК (/) ТРАНСМИССИЯ И ТОРМОЗ.
FIT
1:1
100%

Артикул

Название

Примечание

Количество

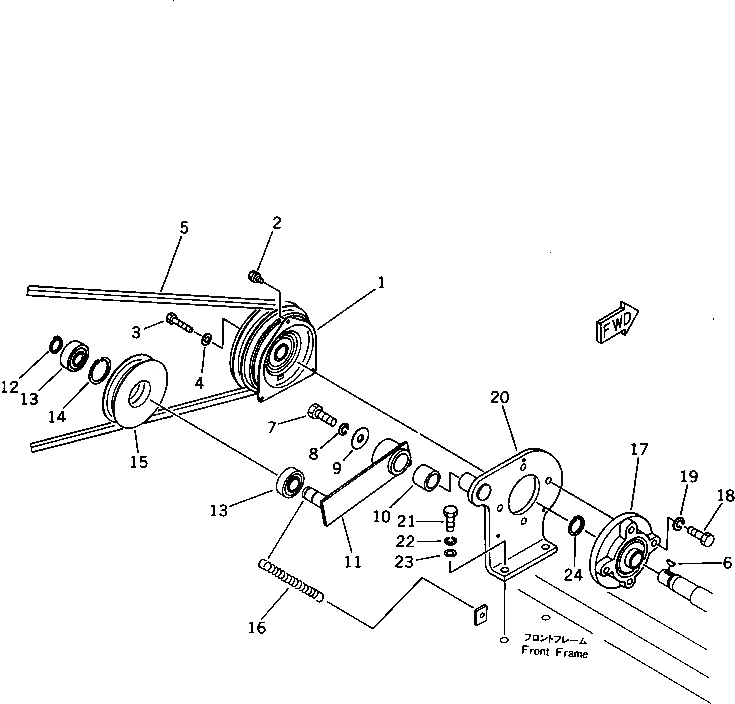
1

266-30-41500

CLUTCH ASS'Y

SN: 2501-UP

1шт.

2

2692-3-11610

BOLT

SN: 2501-UP

3шт.

3

2692-3-11620

BOLT

SN: 2501-UP

1шт.

4

2692-3-11630

WASHER

SN: 2501-UP

1шт.

5

265-99-13347

V-BELT

SN: 2501-UP

1шт.

6

266-30-41420

KEY

SN: 2501-UP

1шт.

7

01010-31020

BOLT

SN: 2501-UP

1шт.

8

01602-01030

WASHER,SPRING

SN: 2501-UP

1шт.

9

266-91-10000

WASHER

SN: 2501-UP

1шт.

|10

2691-3-32500

TENSION ASS'Y

SN: 2501-UP

1шт.

10

266-97-25322

BUSHING

SN: 2501-UP

1шт.

11

2691-3-32600

ARM

SN: 2501-UP

1шт.

12

04064-02012

RING,SNAP

SN: 2501-UP

1шт.

13

06009-06204

BEARING

SN: 2501-UP

2шт.

14

04065-04718

RING,SNAP

SN: 2501-UP

1шт.

15

2691-3-32710

PULLEY

SN: 2501-UP

1шт.

16

258-30-11351

SPRING

SN: 2501-UP

1шт.

17

2691-3-32720

BEARING

SN: 2501-UP

1шт.

18

01010-31035

BOLT

SN: 2501-UP

4шт.

19

01602-01030

WASHER,SPRING

SN: 2501-UP

4шт.

20

2691-3-31200

BRACKET

SN: 2501-UP

1шт.

21

01010-31035

BOLT

SN: 2501-UP

2шт.

22

01602-01030

WASHER,SPRING

SN: 2501-UP

2шт.

23

268-30-13620

WASHER

SN: 2501-UP

2шт.

24

04064-02512

RING,SNAP

SN: 2501-UP

1шт.

Выбрано товаров: 25