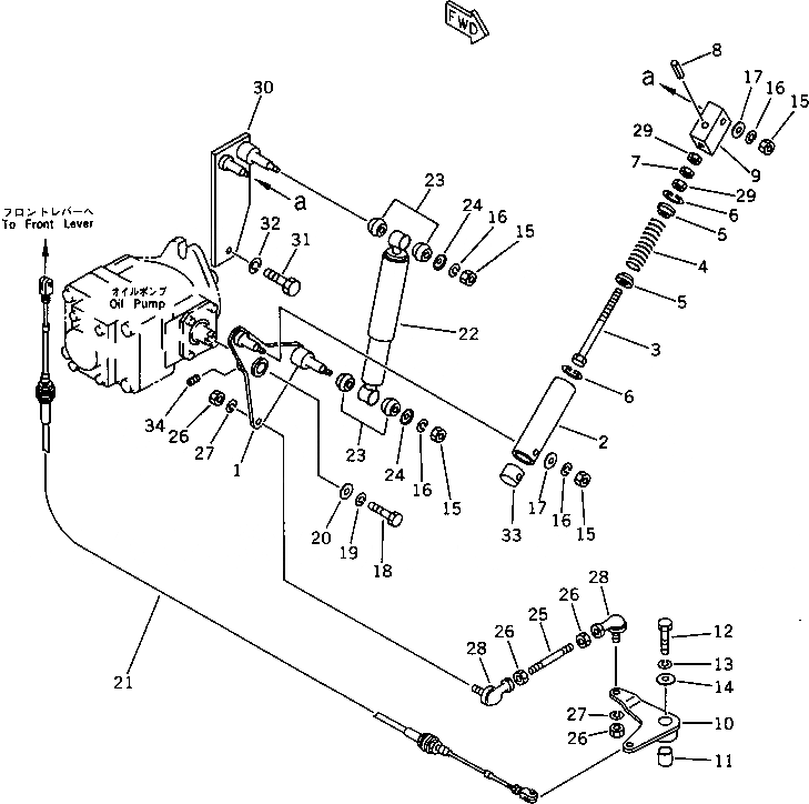
Запчасти Komatsu JV32W-2 NЕСTRAL SPRING И SHOCK ABSORBER(№7-) ТРАНСМИССИЯ И ТОРМОЗ.

Схема запчастей Komatsu JV32W-2 - NЕСTRAL SPRING И SHOCK ABSORBER(№7-) ТРАНСМИССИЯ И ТОРМОЗ.
FIT
1:1
100%

Артикул

Название

Примечание

Количество

1

2691-3-38101

LEVER

SN: 2746-UP

1шт.

2

258-30-15310

HOLDER

SN: 2501-UP

1шт.

3

258-30-15500

BOLT

SN: 2501-UP

1шт.

4

257-30-15321

SPRING

SN: 2501-UP

1шт.

5

258-30-15330

COLLAR

SN: 2501-UP

2шт.

6

04065-02412

RING,SNAP

SN: 2501-UP

2шт.

7

267-15-41108

NUT

SN: 2501-UP

1шт.

8

267-12-20020

PIN,SPRING

SN: 2501-UP

1шт.

9

258-30-15340

JOINT

SN: 2501-UP

1шт.

10

2691-3-38300

LEVER

SN: 2501-UP

1шт.

11

265-30-24420

BUSHING

SN: 2501-UP

1шт.

12

01010-30816

BOLT

SN: 2501-UP

1шт.

13

01602-00825

WASHER,SPRING

SN: 2501-UP

1шт.

14

266-91-08000

WASHER

SN: 2501-UP

1шт.

15

01580-00806

NUT

SN: 2501-UP

4шт.

16

01602-00825

WASHER,SPRING

SN: 2501-UP

4шт.

17

01641-00812

WASHER

SN: 2501-UP

2шт.

18

266-20-61250

BOLT

SN: 2746-UP

1шт.

19

01602-01030

WASHER,SPRING

SN: 2746-UP

1шт.

20

268-30-12360

WASHER

SN: 2746-UP

1шт.

21

2691-3-35900

WIRE

SN: 2501-UP

1шт.

|22

257-30-18500

ABSORBER ASS'Y

SN: 2501-UP

1шт.

22

257-30-18510

ABSORBER

SN: 2501-UP

1шт.

23

257-30-18520

BUSHING

SN: 2501-UP

4шт.

24

257-30-18530

WASHER

SN: 2501-UP

2шт.

25

2691-3-38410

ROD

SN: 2501-UP

1шт.

26

01580-00806

NUT

SN: 2501-UP

4шт.

27

01602-00825

WASHER,SPRING

SN: 2501-UP

2шт.

28

268-30-16680

BALL,LINK

SN: 2501-UP

2шт.

29

01580-00806

NUT

SN: 2746-UP

2шт.

30

2691-3-38501

BRACKET

SN: 2746-UP

1шт.

31

01010-31025

BOLT

SN: 2746-UP

2шт.

32

01602-01030

WASHER,SPRING

SN: 2746-UP

2шт.

33

258-30-15760

BUSHING,RUBBER

SN: 2531-UP

1шт.

34

265-14-06008

SCREW

SN: 2591-UP

1шт.

Выбрано товаров: 35