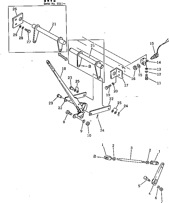
Запчасти Komatsu JV32W-2 РЫЧАГ УПР-Я СТОЯНОЧН. ТОРМОЗОМ И МЕХАНИЗМ РОЛИК И КОНЕЧНАЯ ПЕРЕДАЧА

Схема запчастей Komatsu JV32W-2 - РЫЧАГ УПР-Я СТОЯНОЧН. ТОРМОЗОМ И МЕХАНИЗМ РОЛИК И КОНЕЧНАЯ ПЕРЕДАЧА
FIT
1:1
100%

Артикул

Название

Примечание

Количество

1

257-70-23370

CLEVIS

SN: 2501-UP

1шт.

2

01580-00806

NUT

SN: 2501-UP

2шт.

3

2691-5-35210

ROD

SN: 2501-UP

1шт.

4

257-40-25110

LEVER ASS'Y

SN: 2501-UP

1шт.

5

01010-30845

BOLT

SN: 2501-UP

1шт.

6

01602-00825

WASHER,SPRING

SN: 2501-UP

1шт.

7

01580-00806

NUT

SN: 2501-UP

1шт.

8

01010-31635

BOLT

SN: 2501-UP

2шт.

9

01602-01648

WASHER,SPRING

SN: 2501-UP

2шт.

10

01580-01613

NUT

SN: 2501-UP

2шт.

11

01010-30612

BOLT

SN: 2501-UP

2шт.

12

01602-00619

WASHER,SPRING

SN: 2501-UP

2шт.

13

266-91-06000

WASHER

SN: 2501-UP

1шт.

14

257-70-14950

BRACKET

SN: 2501-UP

1шт.

15

257-20-16340

SWITCH,BRAKE

SN: 2501-UP

1шт.

16

01583-01811

NUT

SN: 2501-UP

1шт.

17

2691-5-35230

BRACKET

SN: 2501-UP

1шт.

18

257-70-14701

LEVER,BRAKE

SN: 2501-UP

1шт.

19

01010-31025

BOLT

SN: 2501-UP

2шт.

20

01602-01030

WASHER,SPRING

SN: 2501-UP

2шт.

21

2691-5-35400

LEVER

SN: 2501-2510

1шт.

|21

2691-5-35401

LEVER

SN: 2511-UP

1шт.

22

2691-5-35220

BAR

SN: 2501-UP

2шт.

23

2691-5-35240

PIN

SN: 2501-UP

2шт.

24

04050-13018

PIN,COTTER

SN: 2501-UP

2шт.

25

266-91-10000

WASHER

SN: 2501-UP

4шт.

26

2691-5-35250

BRACKET

SN: 2511-UP

1шт.

27

01010-31040

BOLT

SN: 2511-UP

2шт.

28

01602-01030

WASHER,SPRING

SN: 2511-UP

2шт.

29

268-30-13620

WASHER

SN: 2511-UP

2шт.

Выбрано товаров: 30