Запчасти Komatsu JV32W-2 ГЛУШИТЕЛЬ И ВЫПУСКН. MANIHOLD ДВИГАТЕЛЬ¤ КОМПОНЕНТЫ ДВИГАТЕЛЯ И ЭЛЕКТРИКА

Схема запчастей Komatsu JV32W-2 - ГЛУШИТЕЛЬ И ВЫПУСКН. MANIHOLD ДВИГАТЕЛЬ¤ КОМПОНЕНТЫ ДВИГАТЕЛЯ И ЭЛЕКТРИКА
FIT
1:1
100%

Артикул

Название

Примечание

Количество

|1

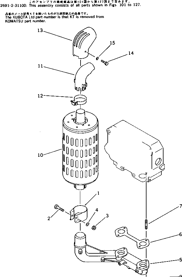
2691-2-31100

ENGINE ASS'Y

SN: 2501-UP

1шт.

|$$2

THIS ASSEMBLY CONSISTS OF ALL PARTS SHOWN IN FIGS.101 TO 127.

-1шт.

|$$3

THE KUBOTA PART NUMBER IS THAT KT IS REMOVED FROM KOMATSU PART NUMBER LISTED BELOW.

-1шт.

1

KT14952-1213-1

BAND

SN: 2501-UP

1шт.

2

KT01153-50835

BOLT

SN: 2501-UP

1шт.

3

KT02114-50080

NUT

SN: 2501-UP

1шт.

4

KT04512-50080

WASHER,SPRING

SN: 2501-UP

1шт.

5

KT14952-1232-1

FLANGE

SN: 2501-UP

1шт.

6

KT14952-1237-1

GASKET

SN: 2501-UP

1шт.

7

KT01513-50845

STUD

SN: 2501-UP

4шт.

8

KT02114-50080

NUT

SN: 2501-UP

4шт.

9

KT04512-50080

WASHER,SPRING

SN: 2501-UP

4шт.

10

KT14952-1211-1

MUFFLER

SN: 2501-UP

1шт.

|11

KT14911-1240-1

PIPE ASS'Y,MUFFLER

SN: 2501-UP

1шт.

11

KT14911-1241-1

PIPE,MUFFLER

SN: 2501-UP

1шт.

12

KT14431-1243-2

BAND,PIPE

SN: 2501-UP

1шт.

13

KT14911-1247-2

COVER,PIPE MUFFLER

SN: 2501-UP

1шт.

14

KT01222-50608

BOLT

SN: 2501-UP

2шт.

15

KT04512-50060

WASHER,SPRING

SN: 2501-UP

2шт.

Выбрано товаров: 0