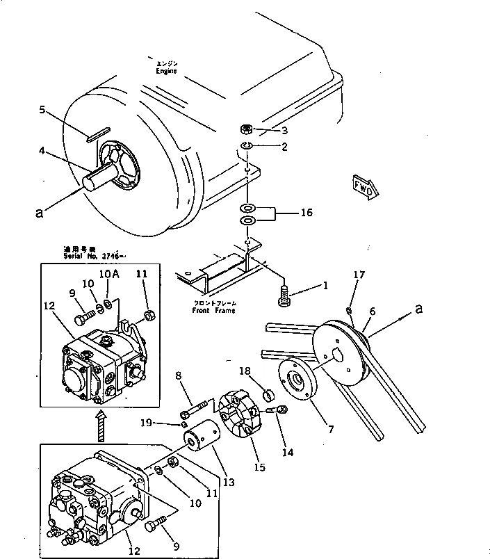
Запчасти Komatsu JV32W-2 КРЕПЛЕНИЕ ДВИГАТЕЛЯ И HST НАСОС ДВИГАТЕЛЬ¤ КОМПОНЕНТЫ ДВИГАТЕЛЯ И ЭЛЕКТРИКА

Схема запчастей Komatsu JV32W-2 - КРЕПЛЕНИЕ ДВИГАТЕЛЯ И HST НАСОС ДВИГАТЕЛЬ¤ КОМПОНЕНТЫ ДВИГАТЕЛЯ И ЭЛЕКТРИКА
FIT
1:1
100%

Артикул

Название

Примечание

Количество

1

01010-31445

BOLT

SN: 2501-UP

4шт.

2

01602-01442

WASHER,SPRING

SN: 2501-UP

4шт.

3

01580-01411

NUT

SN: 2501-UP

4шт.

4

KT14612-8251-4

SHAFT

SN: 2501-UP

1шт.

5

04000-01070

KEY

SN: 2501-UP

1шт.

6

2691-2-34910

PULLEY

SN: 2501-UP

1шт.

7

2691-2-34921

SPACER

SN: 2511-UP

1шт.

7

2691-2-34920

SPACER

SN: 2501-2510

1шт.

8

01252-31050

BOLT

SN: 2501-UP

3шт.

9

01010-31445

BOLT

SN: 2746-UP

2шт.

9

01010-31445

BOLT

SN: 2501-2745

4шт.

10

01602-01442

WASHER,SPRING

SN: 2746-UP

2шт.

10

01602-01442

WASHER,SPRING

SN: 2501-2745

4шт.

10A

01641-01423

WASHER

SN: 2746-UP

2шт.

11

01580-01411

NUT

SN: 2746-UP

2шт.

11

01580-01411

NUT

SN: 2501-2745

4шт.

12

2691-8-37101

OIL PUMP ASS'Y

SN: 2746-UP

1шт.

12

2691-8-37100

OIL PUMP ASS'Y

SN: 2501-2745

1шт.

13

2691-2-34942

BOSS

SN: 2746-UP

1шт.

13

2691-2-34941

BOSS

SN: 2501-2745

1шт.

14

01252-31035

BOLT

SN: 2501-UP

3шт.

15

2691-2-34950

COUPLING

SN: 2501-UP

1шт.

16

2691-3-11140

SHIM

SN: 2501-UP

-2шт.

17

265-14-81010

SCREW

SN: 2501-UP

2шт.

18

267-16-81135

CAP

SN: 2501-UP

1шт.

19

265-14-10020

SCREW

SN: 2501-UP

2шт.

Выбрано товаров: 26