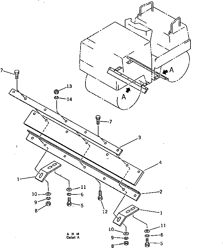
Запчасти Komatsu JV32W-2 РОЛИК СКРЕППЕР (ВНУТР.)(№-) РАМА И КУЗОВ

Схема запчастей Komatsu JV32W-2 - РОЛИК СКРЕППЕР (ВНУТР.)(№-) РАМА И КУЗОВ
FIT
1:1
100%

Артикул

Название

Примечание

Количество

|$0

2691-1-39101

SCRAPER ASS'Y

SN: 2551-UP

2шт.

1

2691-1-39610

BRACKET

SN: 2551-UP

2шт.

2

2691-1-38720

BRACKET

SN: 2551-UP

1шт.

3

2691-1-38730

BRACKET

SN: 2551-UP

1шт.

4

2691-1-38710

SCRAPER

SN: 2551-UP

1шт.

5

01010-31025

BOLT

SN: 2551-UP

4шт.

6

01602-01030

WASHER,SPRING

SN: 2551-UP

4шт.

7

01010-31045

BOLT

SN: 2551-UP

2шт.

8

01580-01008

NUT

SN: 2551-UP

2шт.

9

01602-01030

WASHER,SPRING

SN: 2551-UP

2шт.

10

266-91-10000

WASHER

SN: 2551-UP

2шт.

11

266-91-10000

WASHER

SN: 2551-UP

4шт.

12

01010-31030

BOLT

SN: 2551-UP

5шт.

13

01580-01008

NUT

SN: 2551-UP

5шт.

14

01602-01030

WASHER,SPRING

SN: 2551-UP

5шт.

Выбрано товаров: 15