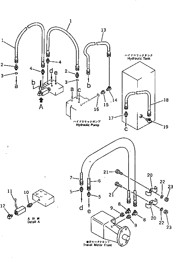
Запчасти Komatsu JV32W-2 HST ТРУБЫ (HST НАСОС - ПЕРЕДН. МОТОР ХОДА)(№-7) СИСТЕМА РАЗБРЫЗГИВАНИЯ ВОДЫ И МАСЛ. БАК

Схема запчастей Komatsu JV32W-2 - HST ТРУБЫ (HST НАСОС - ПЕРЕДН. МОТОР ХОДА)(№-7) СИСТЕМА РАЗБРЫЗГИВАНИЯ ВОДЫ И МАСЛ. БАК
FIT
1:1
100%

Артикул

Название

Примечание

Количество

1

2691-8-38130

HOSE

SN: 2501-@

2шт.

2

267-13-10404

NIPPLE

SN: 2501-2745

2шт.

3

07000-02018

O-RING

SN: 2501-2745

2шт.

4

267-11-31004

NIPPLE

SN: 2501-@

2шт.

5

267-11-31003

NIPPLE

SN: 2620-@

2шт.

6

2691-8-38141

HOSE

SN: 2620-2745

1шт.

7

2691-8-38151

HOSE

SN: 2620-2745

1шт.

8

267-11-31903

ELBOW

SN: 2620-@

2шт.

9

267-11-11043

BUSHING

SN: 2501-@

2шт.

10

267-11-31003

NIPPLE

SN: 2501-2745

1шт.

11

257-80-17611

VALVE,BALL

SN: 2501-@

1шт.

12

267-11-31903

ELBOW

SN: 2501-2745

1шт.

13

2691-8-38320

HOSE

SN: 2501-2745

1шт.

14

267-11-31903

ELBOW

SN: 2501-2745

1шт.

15

267-13-20303

BUSHING

SN: 2501-2745

1шт.

16

07000-02014

O-RING

SN: 2501-2745

1шт.

17

267-11-12004

NIPPLE

SN: 2501-2745

1шт.

18

2691-8-38310

HOSE

SN: 2501-@

1шт.

19

267-11-31904

ELBOW

SN: 2501-@

1шт.

20

2691-8-38611

CLIP

SN: 2620-@

2шт.

21

01010-30840

BOLT

SN: 2620-@

2шт.

22

01602-00825

WASHER,SPRING

SN: 2620-@

2шт.

23

01580-00806

NUT

SN: 2620-@

2шт.

Выбрано товаров: 23