Запчасти Komatsu JV40-1 СИДЕНЬЕ ОПЕРАТОРА СИСТЕМАУПРАВЛЕНИЯ ПОВОРОТОМ

Схема запчастей Komatsu JV40-1 - СИДЕНЬЕ ОПЕРАТОРА СИСТЕМАУПРАВЛЕНИЯ ПОВОРОТОМ
FIT
1:1
100%

Артикул

Название

Примечание

Количество

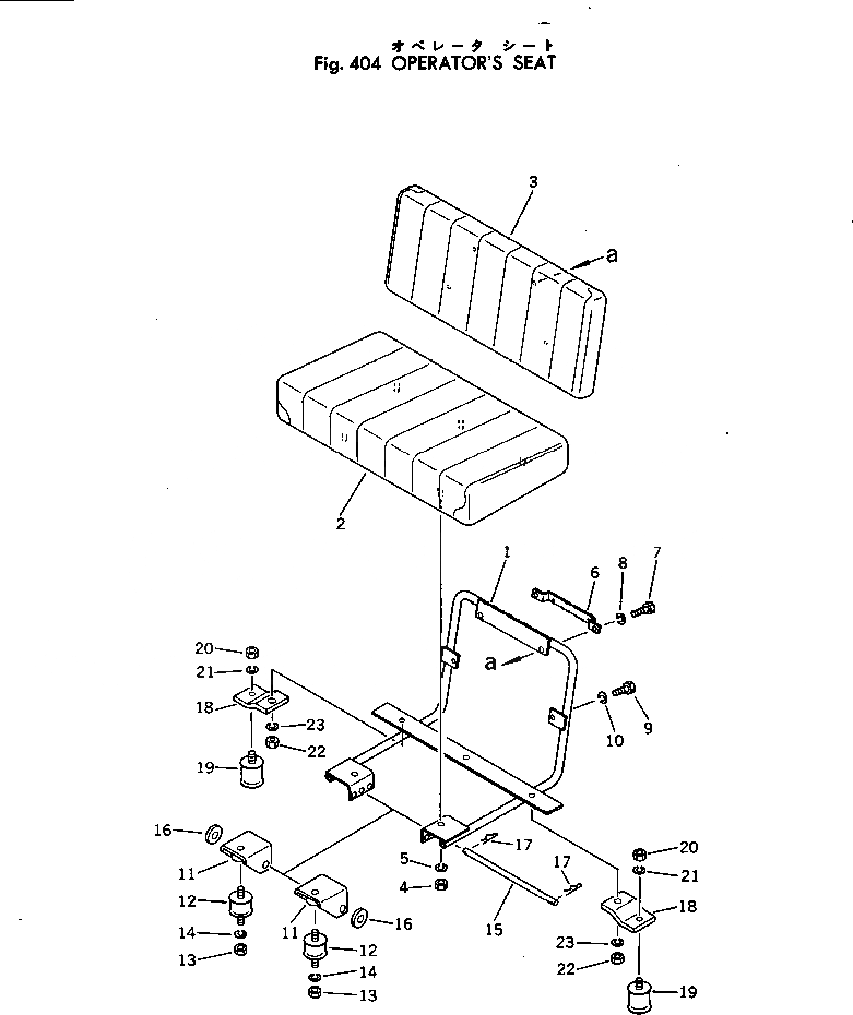
1

257-60-15201

BASE

SN: 1001-UP

1шт.

2

257-60-15410

SEAT

SN: 1001-UP

1шт.

3

257-60-15510

SEAT

SN: 1001-UP

1шт.

4

01580-01008

NUT

SN: 1001-UP

3шт.

5

01602-01030

WASHER

SN: 1001-UP

3шт.

6

258-60-15110

BRACKET

SN: 1001-UP

1шт.

7

01010-30825

BOLT

SN: 1001-UP

2шт.

8

01602-00825

WASHER

SN: 1001-UP

2шт.

9

01010-30820

BOLT

SN: 1001-UP

2шт.

10

01602-00825

WASHER

SN: 1001-UP

2шт.

11

259-60-16100

BRACKET

SN: 1001-UP

2шт.

12

259-60-16210

CUSHION

SN: 1001-UP

2шт.

13

01580-00806

NUT

SN: 1001-UP

2шт.

14

01602-00825

WASHER

SN: 1001-UP

2шт.

15

257-10-16910

PIN

SN: 1001-UP

1шт.

16

259-60-16230

SEAL

SN: 1001-UP

2шт.

17

266-60-44321

PIN

SN: 1001-UP

2шт.

18

259-60-16240

BRACKET

SN: 1001-UP

2шт.

19

259-60-16220

CUSHION

SN: 1001-UP

2шт.

20

01580-00806

NUT

SN: 1001-UP

2шт.

21

01602-00825

WASHER

SN: 1001-UP

2шт.

22

01580-01008

NUT

SN: 1001-UP

2шт.

23

01602-01030

WASHER

SN: 1001-UP

2шт.

Выбрано товаров: 23