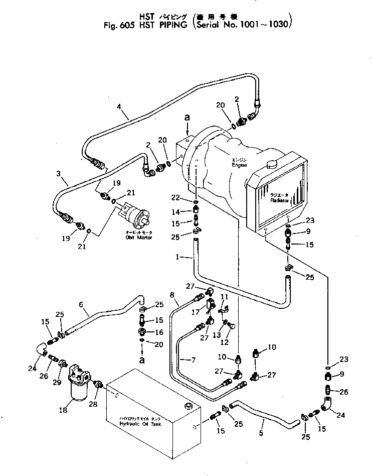
Запчасти Komatsu JV40-1 HST ТРУБЫ(№-) СИСТЕМА РАЗБРЫЗГИВАНИЯ ВОДЫ И МАСЛ. БАК

Схема запчастей Komatsu JV40-1 - HST ТРУБЫ(№-) СИСТЕМА РАЗБРЫЗГИВАНИЯ ВОДЫ И МАСЛ. БАК
FIT
1:1
100%

Артикул

Название

Примечание

Количество

1

258-80-18110

HOSE

SN: 1001-@

1шт.

2

258-80-18120

NIPPLE

SN: 1001-1030

2шт.

3

258-80-18130

HOSE

SN: 1001-@

1шт.

4

258-80-18140

HOSE

SN: 1001-@

1шт.

5

258-80-18310

HOSE

SN: 1001-@

1шт.

6

258-80-18320

HOSE

SN: 1001-@

1шт.

7

258-80-18330

HOSE

SN: 1001-1030

1шт.

8

258-80-18340

HOSE

SN: 1001-1030

1шт.

9

258-80-18350

BUSHING

SN: 1001-@

2шт.

10

258-80-18360

BUSHING

SN: 1001-1030

2шт.

11

257-80-18710

COVER

SN: 1001-@

1шт.

12

01010-30612

BOLT

SN: 1001-@

2шт.

13

01602-00619

WASHER

SN: 1001-@

2шт.

14

257-80-18130

BUSHING

SN: 1001-@

1шт.

15

257-80-18470

NIPPLE

SN: 1001-@

6шт.

16

257-60-18110

NIPPLE

SN: 1001-@

1шт.

17

257-80-17610

VALVE

SN: 1001-1030

1шт.

18

257-80-17300

FILTER ASS'Y

SN: 1001-@

1шт.

19

258-80-18370

NIPPLE

SN: 1001-@

2шт.

20

2691-6-18420

O-RING

SN: 1001-@

3шт.

21

07000-02018

O-RING

SN: 1001-@

2шт.

22

2692-8-16220

O-RING

SN: 1001-@

1шт.

23

07000-02020

O-RING

SN: 1001-@

2шт.

24

07323-00400

ELBOW

SN: 1001-@

2шт.

25

07280-03223

CLAMP

SN: 1001-@

6шт.

26

266-06-08000

NIPPLE

SN: 1001-@

2шт.

27

267-11-31902

ELBOW

SN: 1001-1030

4шт.

28

07325-01000

NIPPLE

SN: 1001-@

1шт.

29

07326-01004

ADAPTER

SN: 1001-@

1шт.

Выбрано товаров: 29