Запчасти Komatsu JV40C-1 РАДИАТОР И КРЕПЛЕНИЕ ДВИГАТЕЛЬ¤ КОМПОНЕНТЫ ДВИГАТЕЛЯ И ЭЛЕКТРИКА

Схема запчастей Komatsu JV40C-1 - РАДИАТОР И КРЕПЛЕНИЕ ДВИГАТЕЛЬ¤ КОМПОНЕНТЫ ДВИГАТЕЛЯ И ЭЛЕКТРИКА
FIT
1:1
100%

Артикул

Название

Примечание

Количество

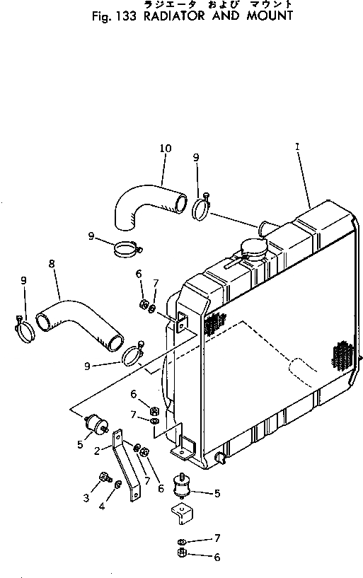
1

258-20-14100

RADIATOR ASS'Y

SN: 1001-UP

1шт.

|1

258-20-24110

CAP

SN: 1001-UP

1шт.

2

258-20-14320

BRACKET

SN: 1001-UP

2шт.

3

01010-30820

BOLT

SN: 1001-UP

2шт.

4

01602-00825

WASHER

SN: 1001-UP

2шт.

5

20R-03-11190

CUSHION

SN: 1001-UP

4шт.

6

01580-00806

NUT

SN: 1001-UP

8шт.

7

01602-00825

WASHER

SN: 1001-UP

8шт.

8

258-20-14331

HOSE

SN: 1466-UP

1шт.

|8

258-20-14330

HOSE

SN: 1001-1465

1шт.

9

258-20-14350

BAND

SN: 1001-UP

4шт.

10

258-20-14341

HOSE

SN: 1466-UP

1шт.

|10

258-20-14340

HOSE

SN: 1001-1465

1шт.

Выбрано товаров: 13