Запчасти Komatsu JV40C-1 ТОПЛИВОПРОВОД. ДВИГАТЕЛЬ¤ КОМПОНЕНТЫ ДВИГАТЕЛЯ И ЭЛЕКТРИКА

Схема запчастей Komatsu JV40C-1 - ТОПЛИВОПРОВОД. ДВИГАТЕЛЬ¤ КОМПОНЕНТЫ ДВИГАТЕЛЯ И ЭЛЕКТРИКА
FIT
1:1
100%

Артикул

Название

Примечание

Количество

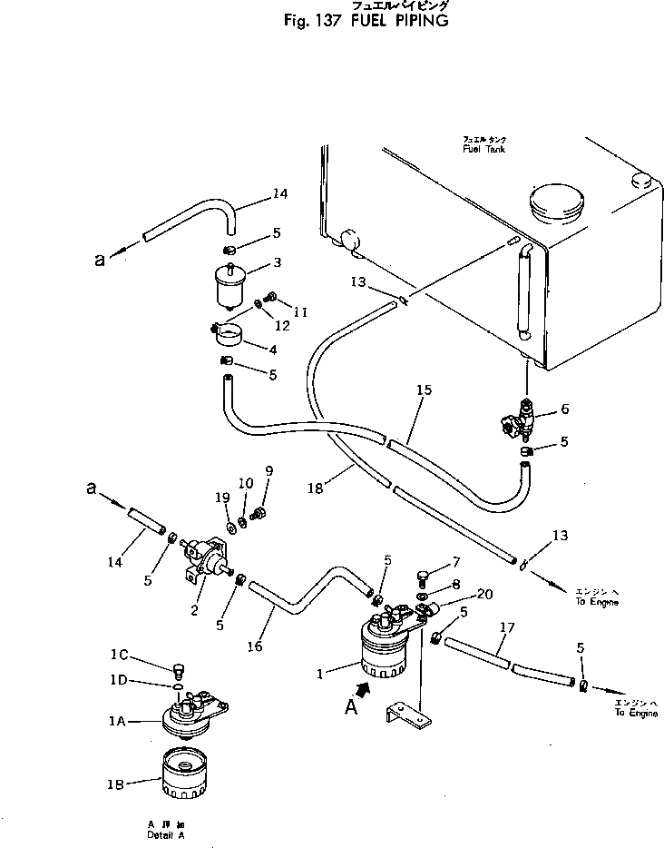
1

258-20-17600

FILTER ASS'Y

SN: 1001-UP

1шт.

1A

258-22-17610

COVER

SN: 1001-UP

1шт.

1B

258-20-17620

ELEMENT

SN: 1001-UP

1шт.

1C

258-20-17630

PLUG

SN: 1001-UP

1шт.

1D

258-20-17640

O-RING

SN: 1001-UP

1шт.

2

258-20-17700

FUEL PUMP ASS'Y

SN: 1001-UP

1шт.

3

258-20-17800

FILTER

SN: 1001-UP

1шт.

4

258-20-17910

BAND

SN: 1001-UP

1шт.

5

258-20-17920

CLIP

SN: 1001-UP

8шт.

6

266-20-15203

VALVE

SN: 1001-UP

1шт.

7

01010-30820

BOLT

SN: 1001-UP

2шт.

8

01602-00825

WASHER

SN: 1001-UP

2шт.

9

01010-30616

BOLT

SN: 1001-UP

2шт.

10

01602-00619

WASHER

SN: 1001-UP

2шт.

11

01010-30616

BOLT

SN: 1001-UP

1шт.

12

01602-00619

WASHER

SN: 1001-UP

1шт.

13

258-20-17930

CLAMP

SN: 1001-UP

2шт.

14

258-20-17550

HOSE

SN: 1001-UP

1шт.

15

258-20-17560

HOSE

SN: 1001-UP

1шт.

16

258-20-17570

HOSE

SN: 1001-UP

1шт.

17

258-20-17580

HOSE

SN: 1001-UP

1шт.

18

258-20-17520

HOSE

SN: 1001-UP

1шт.

19

01641-00608

WASHER

SN: 1001-UP

1шт.

20

265-82-13012

CLIP

SN: 1001-UP

1шт.

Выбрано товаров: 24