Запчасти Komatsu JV40C-1 ЦЕНТР. ПАЛЕЦ(№-) СИСТЕМАУПРАВЛЕНИЯ ПОВОРОТОМ

Схема запчастей Komatsu JV40C-1 - ЦЕНТР. ПАЛЕЦ(№-) СИСТЕМАУПРАВЛЕНИЯ ПОВОРОТОМ
FIT
1:1
100%

Артикул

Название

Примечание

Количество

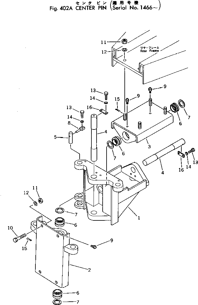
1

258-60-12101

FRAME

SN: 1466-UP

1шт.

2

258-60-12301

BRACKET

SN: 1466-UP

1шт.

3

258-60-12401

BRACKET

SN: 1466-UP

1шт.

4

258-60-12612

PIN

SN: 1466-UP

2шт.

5

258-60-12740

PIN

SN: 1001-UP

1шт.

6

258-60-12721

BUSHING

SN: 1466-UP

4шт.

7

258-60-12731

SPACER

SN: 1466-UP

4шт.

8

2692-6-12610

PIN

SN: 1001-UP

1шт.

9

07020-00000

FITTING

SN: 1001-UP

4шт.

10

01012-31665

BOLT

SN: 1001-UP

4шт.

11

01590-01619

NUT

SN: 1001-UP

8шт.

12

01602-01648

WASHER

SN: 1001-UP

8шт.

13

01010-31025

BOLT

SN: 1081-UP

5шт.

14

01602-01030

WASHER

SN: 1081-UP

5шт.

15

04050-04030

PIN

SN: 1001-UP

8шт.

16

258-60-12751

LOCK

SN: 1466-UP

2шт.

Выбрано товаров: 0