Запчасти Komatsu JV40C-1 ПЕРЕДН. РАМА И КРЫШКА(/)(№-) РАМА И КУЗОВ

Схема запчастей Komatsu JV40C-1 - ПЕРЕДН. РАМА И КРЫШКА(/)(№-) РАМА И КУЗОВ
FIT
1:1
100%

Артикул

Название

Примечание

Количество

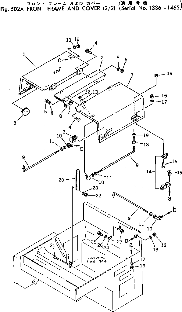
1

258-10-16501

HOOD,L.H.

SN: 1336-1465

1шт.

|1

258-10-17100

HOOD,R.H.

SN: 1336-1465

1шт.

2

258-10-16400

CHANNEL

SN: 1001-@

1шт.

3

257-10-15611

HANDLE

SN: 1001-@

4шт.

4

01010-30816

BOLT

SN: 1001-@

8шт.

5

01580-00806

NUT

SN: 1001-@

8шт.

6

01602-00825

WASHER

SN: 1001-@

8шт.

7

01010-30816

BOLT

SN: 1001-@

6шт.

8

01602-00825

WASHER

SN: 1001-@

6шт.

9

258-10-17300

STAY

SN: 1336-1465

3шт.

10

268-30-16680

BALL

SN: 1336-1465

3шт.

11

01580-00806

NUT

SN: 1336-1465

3шт.

12

01580-00806

NUT

SN: 1336-1465

3шт.

13

01602-00825

WASHER

SN: 1336-1465

3шт.

14

258-10-16900

CATCHER

SN: 1001-1465

4шт.

15

01224-40420

SCREW

SN: 1001-1465

16шт.

16

01580-00403

NUT

SN: 1001-1465

20шт.

17

01602-00410

WASHER

SN: 1001-1465

16шт.

18

01220-40416

SCREW

SN: 1001-@

4шт.

19

258-10-16630

STOPPER

SN: 1001-@

4шт.

20

258-10-16760

ANGLE

SN: 1001-@

1шт.

21

01010-31020

BOLT

SN: 1001-@

4шт.

22

01580-01008

NUT

SN: 1001-@

4шт.

23

01602-01030

WASHER

SN: 1001-@

4шт.

24

258-10-16780

CATCHER

SN: 1336-@

2шт.

25

01010-30620

BOLT

SN: 1336-@

4шт.

26

01641-00608

WASHER

SN: 1336-@

4шт.

27

01580-00605

NUT

SN: 1336-@

4шт.

Выбрано товаров: 28