Запчасти Komatsu JV40C-1 ПЕРЕДН. РАМА И КРЫШКА(/)(№-) РАМА И КУЗОВ

Схема запчастей Komatsu JV40C-1 - ПЕРЕДН. РАМА И КРЫШКА(/)(№-) РАМА И КУЗОВ
FIT
1:1
100%

Артикул

Название

Примечание

Количество

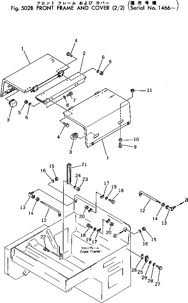
1

258-10-16502

HOOD,L.H.

SN: 1466-UP

1шт.

|1

258-10-17101

HOOD,R.H.

SN: 1466-UP

1шт.

2

258-10-16400

CHANNEL

SN: 1001-UP

1шт.

3

257-10-15611

HANDLE

SN: 1001-UP

4шт.

4

01010-30816

BOLT

SN: 1001-UP

8шт.

5

01580-00806

NUT

SN: 1001-UP

8шт.

6

01602-00825

WASHER

SN: 1001-UP

8шт.

7

01010-30816

BOLT

SN: 1001-UP

6шт.

8

01602-00825

WASHER

SN: 1001-UP

6шт.

9

01220-40416

SCREW

SN: 1001-UP

4шт.

10

258-10-16630

STOPPER

SN: 1001-UP

4шт.

11

01580-00403

NUT

SN: 1466-UP

4шт.

12

258-10-17300

STAY

SN: 1466-UP

2шт.

13

268-30-16680

BALL

SN: 1466-UP

2шт.

14

01580-00806

NUT

SN: 1466-UP

2шт.

15

01580-00806

NUT

SN: 1466-UP

2шт.

16

01602-00825

WASHER

SN: 1466-UP

2шт.

17

258-10-16780

CATCHER

SN: 1336-UP

2шт.

18

01010-30620

BOLT

SN: 1336-UP

4шт.

19

01641-00608

WASHER

SN: 1336-UP

4шт.

20

01580-00605

NUT

SN: 1336-UP

4шт.

21

258-10-16760

ANGLE

SN: 1001-UP

1шт.

22

01010-31020

BOLT

SN: 1001-UP

4шт.

23

01580-01008

NUT

SN: 1001-UP

4шт.

24

01602-01030

WASHER

SN: 1001-UP

4шт.

25

258-10-16902

CATCHER

SN: 1466-UP

3шт.

26

258-10-16790

WASHER

SN: 1466-UP

3шт.

27

01010-30616

BOLT

SN: 1466-UP

6шт.

28

01602-00619

WASHER

SN: 1466-UP

6шт.

29

01641-00608

WASHER

SN: 1466-UP

6шт.

Выбрано товаров: 30