Запчасти Komatsu JV40C-1 МАСЛ. БАК СИСТЕМА РАЗБРЫЗГИВАНИЯ ВОДЫ И МАСЛ. БАК

Схема запчастей Komatsu JV40C-1 - МАСЛ. БАК СИСТЕМА РАЗБРЫЗГИВАНИЯ ВОДЫ И МАСЛ. БАК
FIT
1:1
100%

Артикул

Название

Примечание

Количество

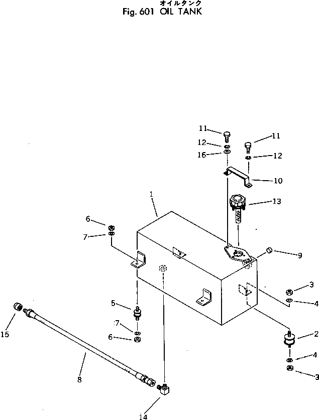
1

258-80-12100

TANK

SN: 1001-UP

1шт.

2

258-20-11210

CUSHION

SN: 1001-UP

2шт.

3

01580-01008

NUT

SN: 1001-UP

4шт.

4

01602-01030

WASHER

SN: 1001-UP

4шт.

5

258-80-12510

RUBBER

SN: 1001-UP

2шт.

6

01580-00806

NUT

SN: 1001-UP

4шт.

7

01602-00825

WASHER

SN: 1001-UP

4шт.

8

258-80-12520

HOSE

SN: 1001-UP

1шт.

9

265-30-21460

GAUGE

SN: 1001-UP

1шт.

10

257-80-12410

COVER

SN: 1001-UP

1шт.

11

01010-30816

BOLT

SN: 1001-UP

2шт.

12

01602-00825

WASHER

SN: 1001-UP

2шт.

13

257-80-12300

CAP

SN: 1001-UP

1шт.

14

267-11-31903

ELBOW

SN: 1001-UP

1шт.

15

266-15-06000

CAP

SN: 1001-UP

1шт.

16

01641-00812

WASHER

SN: 1001-UP

1шт.

Выбрано товаров: 0