Запчасти Komatsu JV40C-2 ПЕРЕДН. СКРЕППЕР (/) (ЗАДН.)(№-) ГУСЕНИЦЫ

Схема запчастей Komatsu JV40C-2 - ПЕРЕДН. СКРЕППЕР (/) (ЗАДН.)(№-) ГУСЕНИЦЫ
FIT
1:1
100%

Артикул

Название

Примечание

Количество

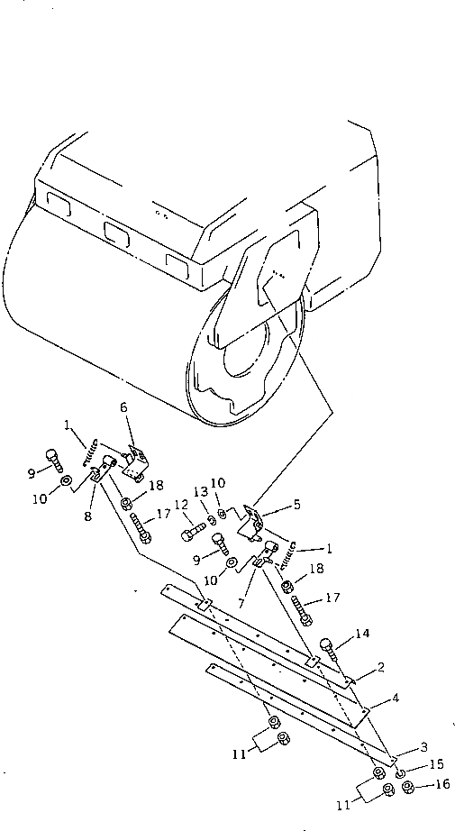
1

258-10-28120

SPRING

SN: 2001-UP

2шт.

2

258-10-28602

BRACKET

SN: 2101-UP

1шт.

3

258-10-28320

PLATE

SN: 2001-UP

1шт.

4

258-10-28330

SCRAPER

SN: 2001-UP

1шт.

5

258-10-29802

BRACKET

SN: 2101-UP

1шт.

6

258-10-29702

BRACKET

SN: 2101-UP

1шт.

7

258-10-28403

BRACKET

SN: 2101-UP

1шт.

8

258-10-28503

BRACKET

SN: 2101-UP

1шт.

9

01010-31045

BOLT

SN: 2101-UP

2шт.

10

268-30-13620

WASHER

SN: 2101-UP

6шт.

11

01580-31008

NUT

SN: 2001-UP

4шт.

12

01010-31030

BOLT

SN: 2001-UP

4шт.

13

01602-21030

WASHER,SPRING

SN: 2001-UP

4шт.

14

01010-31035

BOLT

SN: 2101-UP

7шт.

15

01602-21030

WASHER,SPRING

SN: 2101-UP

7шт.

16

01580-31008

NUT

SN: 2101-UP

7шт.

17

01016-30860

BOLT

SN: 2101-UP

2шт.

18

01580-30806

NUT

SN: 2001-UP

2шт.

Выбрано товаров: 0