Запчасти Komatsu JV40C-2 ЗАДН. РАМА И ПРИБОРНАЯ ПАНЕЛЬ¤ ПОЛ КАБИНЫ(№-) ЧАСТИ КОРПУСА

Схема запчастей Komatsu JV40C-2 - ЗАДН. РАМА И ПРИБОРНАЯ ПАНЕЛЬ¤ ПОЛ КАБИНЫ(№-) ЧАСТИ КОРПУСА
FIT
1:1
100%

Артикул

Название

Примечание

Количество

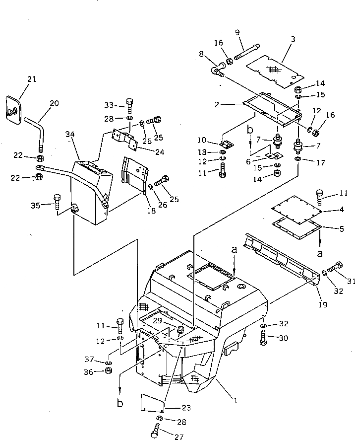
1

258-10-23102

FRAME

SN: 2046-2100

1шт.

|1

258-10-23101

FRAME

SN: 2001-2045

1шт.

2

258-10-23801

BRACKET

SN: 2001-@

1шт.

3

258-10-23911

PLATE

SN: 2001-@

1шт.

4

258-10-14710

COVER

SN: 2001-@

1шт.

5

258-10-14600

GASKET

SN: 2001-@

1шт.

6

258-10-13940

BRACKET

SN: 2001-@

2шт.

7

258-10-13930

CUSHION

SN: 2001-@

4шт.

8

268-30-16680

BALL

SN: 2001-@

1шт.

9

258-10-23700

ROD

SN: 2001-@

1шт.

10

257-10-15620

HINGE

SN: 2001-@

2шт.

11

01010-30816

BOLT

SN: 2001-@

24шт.

12

01602-20825

WASHER,SPRING

SN: 2001-@

11шт.

13

01640-20816

WASHER

SN: 2001-@

8шт.

14

01580-30605

NUT

SN: 2001-@

6шт.

15

01602-20619

WASHER,SPRING

SN: 2001-@

6шт.

16

01580-30806

NUT

SN: 2001-@

2шт.

17

2691-6-13420

WASHER

SN: 2001-@

2шт.

18

258-10-25600

COVER

SN: 2001-2100

1шт.

19

258-10-24800

COVER

SN: 2001-@

1шт.

20

258-10-27620

STAY

SN: 2001-@

2шт.

21

257-10-17630

MIRROR

SN: 2001-@

2шт.

22

01580-21210

NUT

SN: 2001-@

4шт.

23

258-10-23950

COVER

SN: 2001-@

2шт.

24

258-10-25712

COVER

SN: 2046-2100

1шт.

|24

258-10-25711

COVER

SN: 2001-2045

1шт.

25

01010-30816

BOLT

SN: 2001-@

8шт.

26

01602-20825

WASHER,SPRING

SN: 2001-@

8шт.

27

01010-31025

BOLT

SN: 2001-@

4шт.

28

01602-21030

WASHER,SPRING

SN: 2001-2100

5шт.

29

01580-31008

NUT

SN: 2001-@

4шт.

30

01010-30820

BOLT

SN: 2001-@

2шт.

31

01010-30816

BOLT

SN: 2001-@

2шт.

32

01602-20825

WASHER,SPRING

SN: 2001-@

4шт.

33

01010-31020

BOLT

SN: 2001-2100

1шт.

34

258-10-25104

DASHBOARD

SN: 2066-2100

1шт.

|34

258-10-25103

DASHBOARD

SN: 2046-2065

1шт.

|34

258-10-25102

DASHBOARD

SN: 2026-2045

1шт.

|34

258-10-25101

DASHBOARD

SN: 2001-2025

1шт.

35

01010-31025

BOLT

SN: 2001-@

4шт.

36

01580-11008

NUT

SN: 2001-@

4шт.

37

01602-21030

WASHER,SPRING

SN: 2001-@

4шт.

Выбрано товаров: 0