Запчасти Komatsu JV40C-2 МАСЛ. SPRAY ТРУБЫ(№-) УПРАВЛ-Е РАБОЧИМ ОБОРУДОВАНИЕМ

Схема запчастей Komatsu JV40C-2 - МАСЛ. SPRAY ТРУБЫ(№-) УПРАВЛ-Е РАБОЧИМ ОБОРУДОВАНИЕМ
FIT
1:1
100%

Артикул

Название

Примечание

Количество

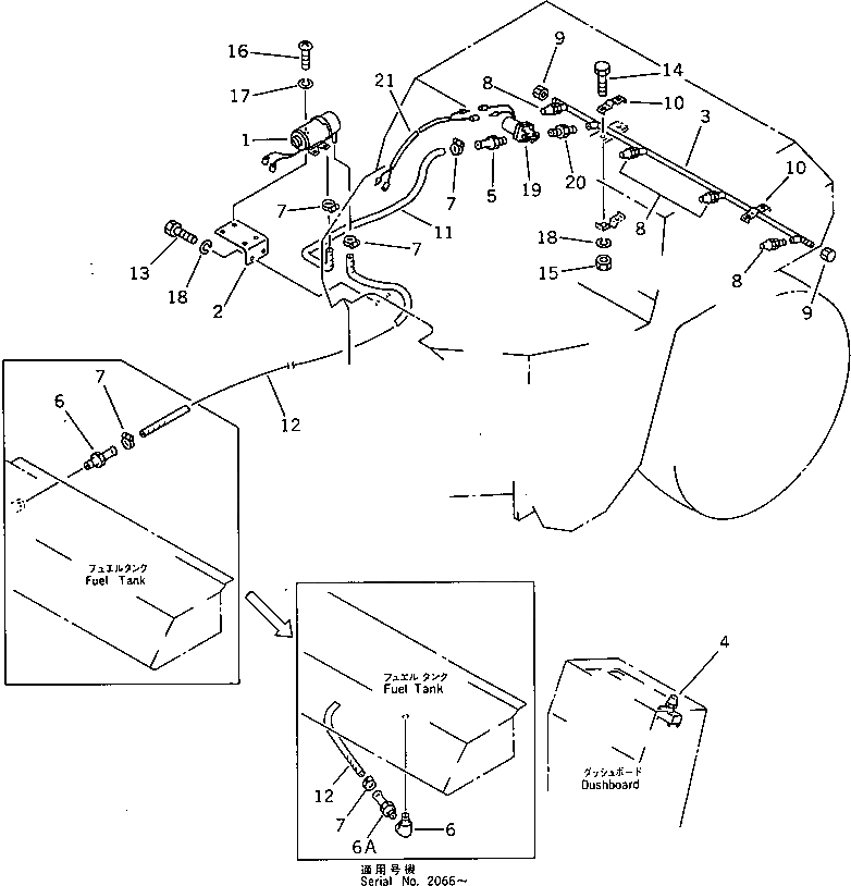
1

258-80-24101

PUMP ASS'Y

SN: 2001-@

1шт.

2

258-80-14610

BRACKET

SN: 2001-@

1шт.

3

258-80-26300

PIPE

SN: 2001-2100

1шт.

4

2692-2-18220

SWITCH

SN: 2001-@

1шт.

5

258-80-14640

NIPPLE

SN: 2001-@

1шт.

6

258-07-01203

ELBOW

SN: 2066-2100

1шт.

|6

258-80-14630

NIPPLE

SN: 2001-2065

1шт.

6A

267-11-51015

NIPPLE

SN: 2066-2100

1шт.

7

07280-02323

CLAMP

SN: 2001-@

4шт.

8

258-80-26421

NOZZLE

SN: 2036-@

4шт.

|8

258-80-26420

NOZZLE

SN: 2001-2035

4шт.

9

2691-8-15831

CAP

SN: 2001-2100

2шт.

10

2691-8-15820

CLIP

SN: 2001-2100

2шт.

11

267-19-15100

HOSE

SN: 2001-@

1шт.

12

267-19-15380

HOSE

SN: 2001-2100

1шт.

13

01010-30820

BOLT

SN: 2001-@

2шт.

14

01010-30830

BOLT

SN: 2001-2100

4шт.

15

01580-30806

NUT

SN: 2001-2100

4шт.

16

01235-40512

SCREW

SN: 2001-@

4шт.

17

01601-20513

WASHER,SPRING

SN: 2001-@

4шт.

18

01602-20825

WASHER,SPRING

SN: 2001-2100

2шт.

19

258-80-26410

VALVE

SN: 2006-@

1шт.

20

267-11-12001

NIPPLE

SN: 2006-@

1шт.

21

258-20-26831

HARNESS

SN: 2006-@

1шт.

Выбрано товаров: 24