Запчасти Komatsu JV40C-2 ГИДРОЛИНИЯ (BYPASS КЛАПАН ЛИНИЯ)(№-) УПРАВЛ-Е РАБОЧИМ ОБОРУДОВАНИЕМ

Схема запчастей Komatsu JV40C-2 - ГИДРОЛИНИЯ (BYPASS КЛАПАН ЛИНИЯ)(№-) УПРАВЛ-Е РАБОЧИМ ОБОРУДОВАНИЕМ
FIT
1:1
100%

Артикул

Название

Примечание

Количество

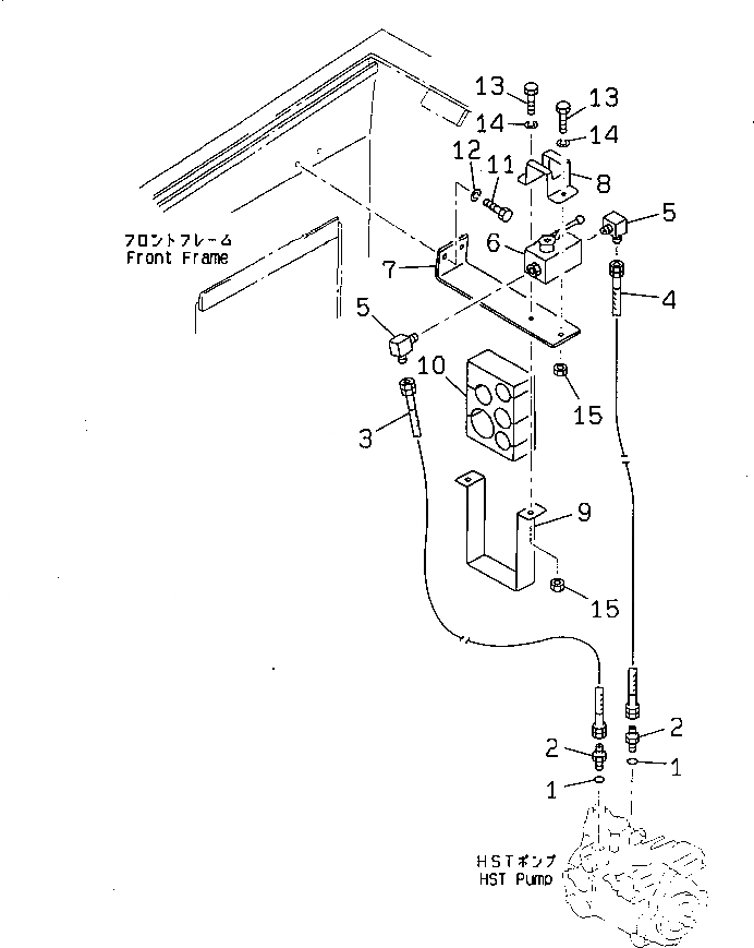
1

267-13-59060

O-RING

SN: 2046-UP

2шт.

2

267-13-30902

NIPPLE

SN: 2046-UP

2шт.

3

258-85-14120

HOSE

SN: 2101-UP

1шт.

4

258-85-14120

HOSE

SN: 2046-UP

1шт.

5

267-11-31902

ELBOW

SN: 2046-UP

2шт.

6

257-80-17610

VALVE

SN: 2046-UP

1шт.

7

258-80-28530

BRACKET

SN: 2101-UP

1шт.

8

258-80-28540

CLAMP

SN: 2101-UP

1шт.

9

258-80-28550

CLAMP

SN: 2101-UP

1шт.

10

258-80-28560

SUPPORT

SN: 2101-UP

1шт.

11

01010-30820

BOLT

SN: 2101-UP

2шт.

12

01602-20825

WASHER,SPRING

SN: 2101-UP

2шт.

13

01010-30825

BOLT

SN: 2101-UP

3шт.

14

01602-20825

WASHER,SPRING

SN: 2101-UP

3шт.

15

01580-30806

NUT

SN: 2101-UP

3шт.

Выбрано товаров: 15