Запчасти Komatsu JV40CW-1 ЭЛЕКТРИКА (ПЕРЕДН.) ДВИГАТЕЛЬ¤ КОМПОНЕНТЫ ДВИГАТЕЛЯ И ЭЛЕКТРИКА

Схема запчастей Komatsu JV40CW-1 - ЭЛЕКТРИКА (ПЕРЕДН.) ДВИГАТЕЛЬ¤ КОМПОНЕНТЫ ДВИГАТЕЛЯ И ЭЛЕКТРИКА
FIT
1:1
100%

Артикул

Название

Примечание

Количество

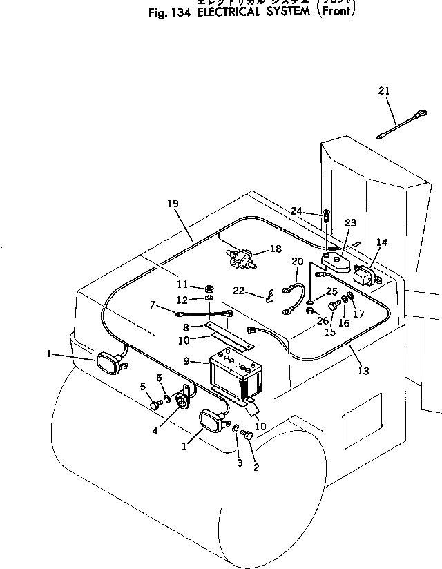
1

2691-2-16200

LAMP ASS'Y

SN: 1001-UP

2шт.

1

2691-2-16260

BULB, 25W

SN: 1001-UP

2шт.

2

01010-30820

BOLT

SN: 1001-UP

4шт.

3

01602-00825

WASHER

SN: 1001-UP

4шт.

4

265-20-13622

HORN

SN: 1001-UP

1шт.

5

01010-30820

BOLT

SN: 1001-UP

1шт.

6

01602-00825

WASHER

SN: 1001-UP

1шт.

7

266-20-22240

CABLE

SN: 1001-UP

1шт.

8

258-20-16110

HOLDER

SN: 1001-UP

1шт.

9

08000-01208

BATTERY (75D31R)

SN: 1001-UP

1шт.

10

257-20-16620

CUSHION

SN: 1001-UP

3шт.

11

01580-00806

NUT

SN: 1001-UP

2шт.

12

01602-00825

WASHER

SN: 1001-UP

2шт.

13

258-20-16130

CABLE

SN: 1001-UP

1шт.

14

258-20-16340

REGULATOR

SN: 1001-UP

1шт.

15

01010-30612

BOLT

SN: 1001-UP

2шт.

16

01602-00619

WASHER

SN: 1001-UP

2шт.

17

01641-00608

WASHER

SN: 1001-UP

2шт.

18

258-20-17700

FUEL PUMP ASS'Y

SN: 1001-UP

1шт.

|$19

258-20-16803

HARNESS ASS'Y

SN: 1001-UP

1шт.

19

258-20-16810

HARNESS

SN: 1001-UP

1шт.

20

258-20-16841

CABLE

SN: 1001-UP

1шт.

21

258-20-16870

CABLE

SN: 1001-UP

1шт.

22

26991-13-620

CLIP

SN: 1001-UP

1шт.

23

258-20-16200

BOX

SN: 1001-UP

1шт.

24

01220-30516

SCREW

SN: 1001-UP

2шт.

25

01601-00513

WASHER

SN: 1001-UP

2шт.

26

01580-00504

NUT

SN: 1001-UP

2шт.

Выбрано товаров: 28