Запчасти Komatsu JV40CW-1 ПЕРЕДН. РАМА И КРЫШКА(/) РАМА И КУЗОВ

Схема запчастей Komatsu JV40CW-1 - ПЕРЕДН. РАМА И КРЫШКА(/) РАМА И КУЗОВ
FIT
1:1
100%

Артикул

Название

Примечание

Количество

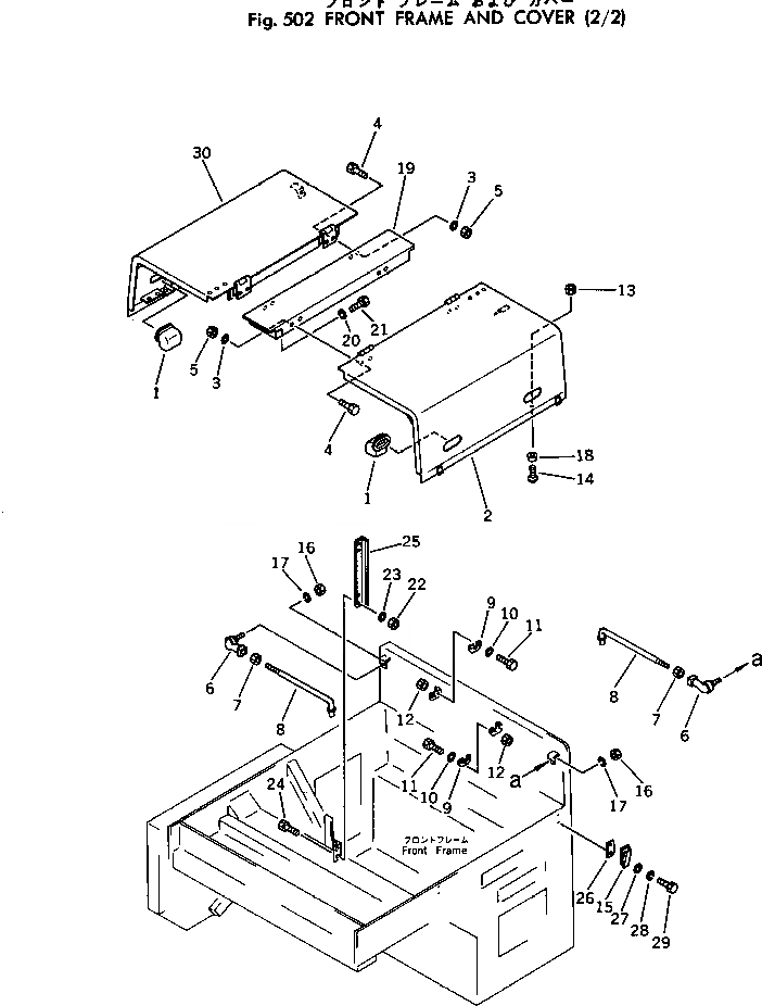
1

257-10-15611

HANDLE

SN: 1001-UP

4шт.

2

258-10-16502

HOOD

SN: 1001-UP

1шт.

3

01602-00825

WASHER

SN: 1001-UP

8шт.

4

01010-30816

BOLT

SN: 1001-UP

8шт.

5

01580-00806

NUT

SN: 1001-UP

8шт.

6

268-30-16680

BALL

SN: 1001-UP

2шт.

7

01580-00806

NUT

SN: 1001-UP

2шт.

8

258-10-17300

STAY

SN: 1001-UP

2шт.

9

258-10-16780

CATCHER

SN: 1001-UP

2шт.

10

01641-00608

WASHER

SN: 1001-UP

4шт.

11

01010-30620

BOLT

SN: 1001-UP

4шт.

12

01580-00605

NUT

SN: 1001-UP

4шт.

13

01580-00403

NUT

SN: 1001-UP

4шт.

14

01220-40416

SCREW

SN: 1001-UP

4шт.

15

258-10-16902

CATCHER

SN: 1001-UP

3шт.

16

01580-00806

NUT

SN: 1001-UP

2шт.

17

01602-00825

WASHER

SN: 1001-UP

2шт.

18

258-10-16630

STOPPER

SN: 1001-UP

4шт.

19

258-10-16400

CHANNEL

SN: 1001-UP

1шт.

20

01602-00825

WASHER

SN: 1001-UP

6шт.

21

01010-30816

BOLT

SN: 1001-UP

6шт.

22

01580-01008

NUT

SN: 1001-UP

4шт.

23

01602-01030

WASHER

SN: 1001-UP

4шт.

24

01010-31020

BOLT

SN: 1001-UP

4шт.

25

258-10-16760

ANGLE

SN: 1001-UP

1шт.

26

258-10-16790

WASHER

SN: 1001-UP

3шт.

27

01641-00608

WASHER

SN: 1001-UP

6шт.

28

01602-00619

WASHER

SN: 1001-UP

6шт.

29

01010-30616

BOLT

SN: 1001-UP

6шт.

30

258-10-17101

HOOD

SN: 1001-UP

1шт.

Выбрано товаров: 30