Запчасти Komatsu JV40CW-1 HST ТРУБЫ (ПЕРЕДН. ПРИВОД) СИСТЕМА РАЗБРЫЗГИВАНИЯ ВОДЫ И МАСЛ. БАК

Схема запчастей Komatsu JV40CW-1 - HST ТРУБЫ (ПЕРЕДН. ПРИВОД) СИСТЕМА РАЗБРЫЗГИВАНИЯ ВОДЫ И МАСЛ. БАК
FIT
1:1
100%

Артикул

Название

Примечание

Количество

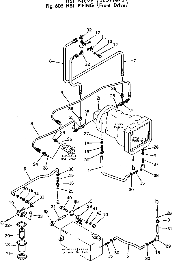
1

258-80-18111

HOSE

SN: 1001-UP

1шт.

2

258-80-18124

NIPPLE

SN: 1001-UP

2шт.

3

258-80-18131

HOSE

SN: 1001-UP

1шт.

4

258-80-18141

HOSE

SN: 1001-UP

1шт.

5

258-80-18310

HOSE

SN: 1001-UP

1шт.

6

258-58-18320

HOSE

SN: 1001-UP

1шт.

7

258-80-18331

HOSE

SN: 1001-UP

1шт.

8

258-80-18341

HOSE

SN: 1001-UP

1шт.

9

258-80-18350

BUSHING

SN: 1001-UP

2шт.

10

01580-00806

NUT

SN: 1001-UP

1шт.

11

257-80-18710

COVER

SN: 1001-UP

1шт.

12

01010-30612

BOLT

SN: 1001-UP

2шт.

13

01602-00619

WASHER

SN: 1001-UP

2шт.

14

257-80-18130

BUSHING

SN: 1001-UP

1шт.

15

257-80-18470

NIPPLE

SN: 1001-UP

6шт.

16

257-60-18110

NIPPLE

SN: 1001-UP

1шт.

17

257-80-17611

VALVE

SN: 1001-UP

1шт.

|$17

257-80-17300

FILTER ASS'Y

SN: 1001-UP

1шт.

18

257-80-17330

CASE

SN: 1001-UP

1шт.

19

257-80-17320

COVER

SN: 1001-UP

1шт.

20

257-80-17310

ELEMENT ASS'Y

SN: 1001-UP

1шт.

21

257-80-17340

FLANGE

SN: 1001-UP

1шт.

22

257-80-17350

GASKET

SN: 1001-UP

1шт.

23

257-80-17360

BOLT

SN: 1001-UP

4шт.

24

258-80-18370

NIPPLE

SN: 1001-UP

2шт.

25

2691-6-18420

O-RING

SN: 1001-UP

3шт.

26

07000-02018

O-RING

SN: 1001-UP

2шт.

27

2692-8-16220

O-RING

SN: 1001-UP

1шт.

28

07000-02020

O-RING

SN: 1001-UP

2шт.

29

07323-00400

ELBOW

SN: 1001-UP

1шт.

30

07280-03223

CLAMP

SN: 1001-UP

6шт.

31

258-05-55521

NIPPLE

SN: 1001-UP

2шт.

32

267-11-31903

ELBOW

SN: 1001-UP

4шт.

33

267-11-01208

ELBOW

SN: 1001-UP

2шт.

34

07326-01004

ADAPTER

SN: 1001-UP

1шт.

35

258-58-12620

BRACKET

SN: 1001-UP

1шт.

36

267-11-31003

NIPPLE

SN: 1001-UP

2шт.

37

266-06-08000

NIPPLE

SN: 1001-UP

1шт.

38

07323-00400

ELBOW

SN: 1001-UP

1шт.

39

258-58-12610

BRACKET

SN: 1001-UP

1шт.

40

01010-30825

BOLT

SN: 1001-UP

2шт.

41

01641-00812

WASHER

SN: 1001-UP

2шт.

42

01602-00825

WASHER,SPRING

SN: 1001-UP

2шт.

Выбрано товаров: 43