Запчасти Komatsu JV40CW-1 ЗАДН. ПРИВОД СИСТЕМА РАЗБРЫЗГИВАНИЯ ВОДЫ И МАСЛ. БАК

Схема запчастей Komatsu JV40CW-1 - ЗАДН. ПРИВОД СИСТЕМА РАЗБРЫЗГИВАНИЯ ВОДЫ И МАСЛ. БАК
FIT
1:1
100%

Артикул

Название

Примечание

Количество

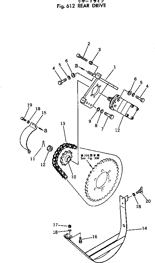
1

258-57-12100

BRACKET

SN: 1001-UP

1шт.

2

01016-31060

BOLT

SN: 1001-UP

2шт.

3

01580-01008

NUT

SN: 1001-UP

2шт.

4

01010-31240

BOLT

SN: 1001-UP

8шт.

5

01602-01236

WASHER

SN: 1001-UP

8шт.

6

2691-6-14540

WASHER

SN: 1001-UP

8шт.

7

01010-31440

BOLT

SN: 1001-UP

2шт.

8

01602-01442

WASHER

SN: 1001-UP

2шт.

9

01641-01423

WASHER

SN: 1001-UP

2шт.

10

258-05-05110

SPROCKET

SN: 1001-UP

1шт.

11

04050-04045

PIN

SN: 1001-UP

1шт.

12

258-58-19200

MOTOR

SN: 1001-UP

1шт.

13

04102-00057

CHAIN

SN: 1001-UP

1шт.

14

258-57-12400

GUARD

SN: 1001-UP

1шт.

15

258-57-12610

GUARD

SN: 1001-UP

1шт.

16

01010-30820

BOLT

SN: 1001-UP

4шт.

17

01580-00806

NUT

SN: 1001-UP

2шт.

18

01602-00825

WASHER

SN: 1001-UP

6шт.

19

01010-30812

BOLT

SN: 1001-UP

2шт.

20

01434-00815

BOLT, WING

SN: 1001-UP

2шт.

Выбрано товаров: 20