Запчасти Komatsu JV40CW-1 КОРОМЫСЛО¤ ВХОДН. И ВЫПУСКН. КЛАПАН ДВИГАТЕЛЬ¤ КОМПОНЕНТЫ ДВИГАТЕЛЯ И ЭЛЕКТРИКА

Схема запчастей Komatsu JV40CW-1 - КОРОМЫСЛО¤ ВХОДН. И ВЫПУСКН. КЛАПАН ДВИГАТЕЛЬ¤ КОМПОНЕНТЫ ДВИГАТЕЛЯ И ЭЛЕКТРИКА
FIT
1:1
100%

Артикул

Название

Примечание

Количество

|$0

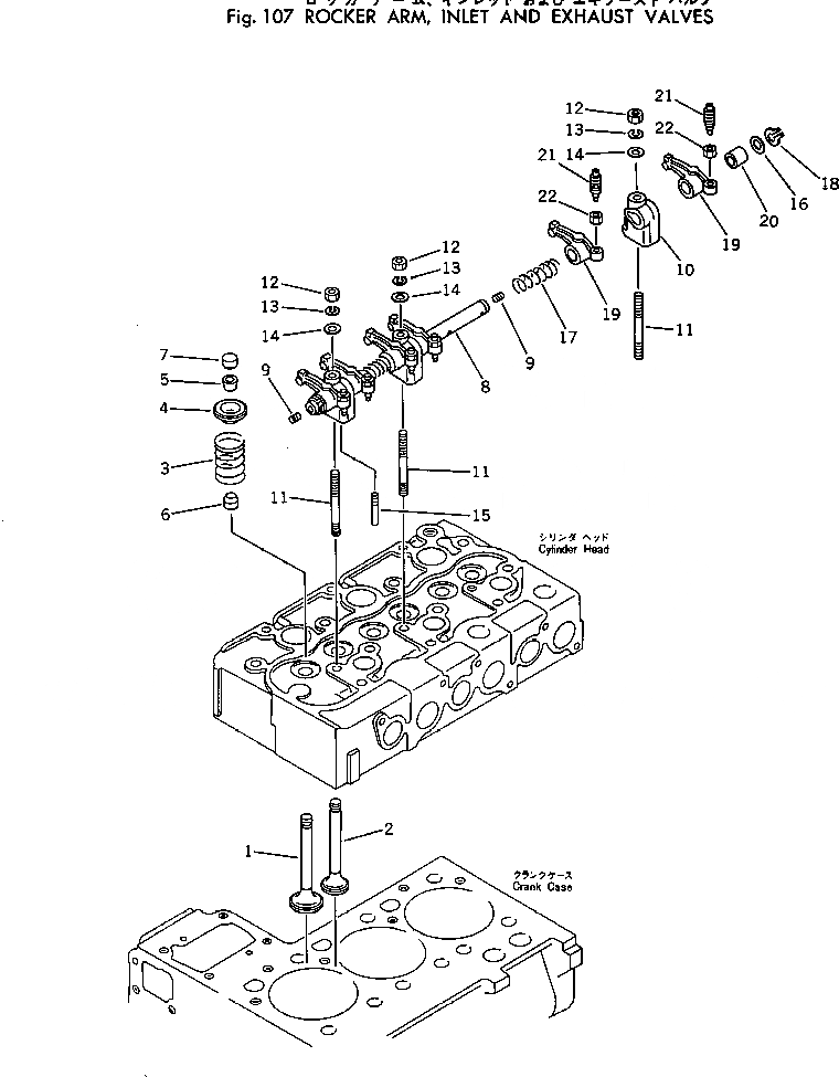
258-20-11501

ENGINE ASS'Y

SN: 1001-UP

1шт.

1

KT15221-1311-4

VALVE,INLET

SN: 1001-UP

3шт.

2

KT15221-1312-4

VALVE,EXHAUST

SN: 1001-UP

3шт.

3

KT15221-1324-2

SPRING

SN: 1001-UP

6шт.

4

KT15221-1333-2

RETAINER

SN: 1001-UP

6шт.

5

KT15221-1336-1

COLLET

SN: 1001-UP

12шт.

6

KT15221-1315-2

SEAL

SN: 1001-UP

6шт.

7

KT15221-1328-2

CAP

SN: 1001-UP

6шт.

|$8

KT15321-1405-1

ROCKER ARM SHAFT A.

SN: 1001-UP

1шт.

8

KT15321-1426-2

SHAFT

SN: 1001-UP

1шт.

9

KT03410-50808

SCREW

SN: 1001-UP

2шт.

10

KT15221-1435-1

BRACKET

SN: 1001-UP

3шт.

11

KT15521-9150-1

STUD

SN: 1001-UP

3шт.

12

KT02156-50080

NUT

SN: 1001-UP

3шт.

13

KT04512-50080

WASHER

SN: 1001-UP

3шт.

14

KT04012-50080

WASHER

SN: 1001-UP

3шт.

15

KT15221-1442-1

SCREW

SN: 1001-UP

1шт.

16

KT15221-1443-1

WASHER

SN: 1001-UP

2шт.

17

KT15221-1431-2

SPRING

SN: 1001-UP

2шт.

18

KT04612-00140

RING

SN: 1001-UP

2шт.

18

KT15601-1403-1

ROCKER ARM ASS'Y

SN: 1001-UP

6шт.

19

KT15221-1411-1

ARM

SN: 1001-UP

6шт.

20

KT15221-1418-1

BUSHING

SN: 1001-UP

6шт.

21

KT15521-1423-1

SCREW

SN: 1001-UP

6шт.

22

KT15021-1424-1

NUT

SN: 1001-UP

6шт.

Выбрано товаров: 25