Запчасти Komatsu JV40CW-1 КРЫШКА ГОЛОВКИ ДВИГАТЕЛЬ¤ КОМПОНЕНТЫ ДВИГАТЕЛЯ И ЭЛЕКТРИКА

Схема запчастей Komatsu JV40CW-1 - КРЫШКА ГОЛОВКИ ДВИГАТЕЛЬ¤ КОМПОНЕНТЫ ДВИГАТЕЛЯ И ЭЛЕКТРИКА
FIT
1:1
100%

Артикул

Название

Примечание

Количество

|$0

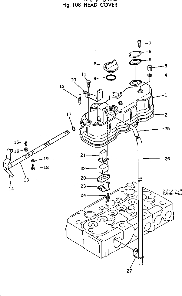
258-20-11501

ENGINE ASS'Y

SN: 1001-UP

1шт.

1

KT15521-1451-3

COVER

SN: 1001-UP

1шт.

2

KT15521-1452-2

GASKET

SN: 1001-UP

1шт.

3

KT15451-9233-2

NUT

SN: 1001-UP

3шт.

4

KT15021-3366-1

GASKET

SN: 1001-UP

3шт.

5

KT15221-6663-3

COVER

SN: 1001-UP

3шт.

6

KT15221-6664-1

GASKET

SN: 1001-UP

3шт.

7

KT01023-50614

BOLT

SN: 1001-UP

6шт.

8

KT15221-3314-2

PLUG

SN: 1001-UP

1шт.

9

KT04811-50300

O-RING

SN: 1001-UP

1шт.

10

KT15221-6619-2

HOLDER

SN: 1001-UP

1шт.

11

KT01023-50614

BOLT

SN: 1001-UP

2шт.

12

KT15221-6628-3

SPRING

SN: 1001-UP

1шт.

|$13

KT15521-6604-1

SHAFT ASS'Y

SN: 1001-UP

1шт.

13

KT15521-6632-1

SHAFT

SN: 1001-UP

1шт.

14

KT15521-6631-1

LEVER

SN: 1001-UP

1шт.

15

KT15221-6635-1

SCREW

SN: 1001-UP

3шт.

16

KT15221-6636-1

NUT

SN: 1001-UP

3шт.

17

KT04811-06100

O-RING

SN: 1001-UP

1шт.

18

KT15221-6641-1

BOLT

SN: 1001-UP

1шт.

19

KT04512-50060

WASHER

SN: 1001-UP

1шт.

20

KT15521-0514-1

PLATE

SN: 1001-UP

1шт.

21

KT15521-0515-1

PLATE

SN: 1001-UP

1шт.

22

KT15521-0567-1

ELEMENT

SN: 1001-UP

1шт.

23

KT15521-0537-1

SHIELD

SN: 1001-UP

1шт.

24

KT15521-9331-1

SCREW

SN: 1001-UP

2шт.

25

KT15521-0555-1

JOINT

SN: 1001-UP

1шт.

26

KT15521-0551-1

PIPE

SN: 1001-UP

1шт.

27

KT15401-0558-1

CLAMP

SN: 1001-UP

1шт.

Выбрано товаров: 29