Запчасти Komatsu JV40CW-1 МАРКИРОВКА РАМА И КУЗОВ

Схема запчастей Komatsu JV40CW-1 - МАРКИРОВКА РАМА И КУЗОВ
FIT
1:1
100%

Артикул

Название

Примечание

Количество

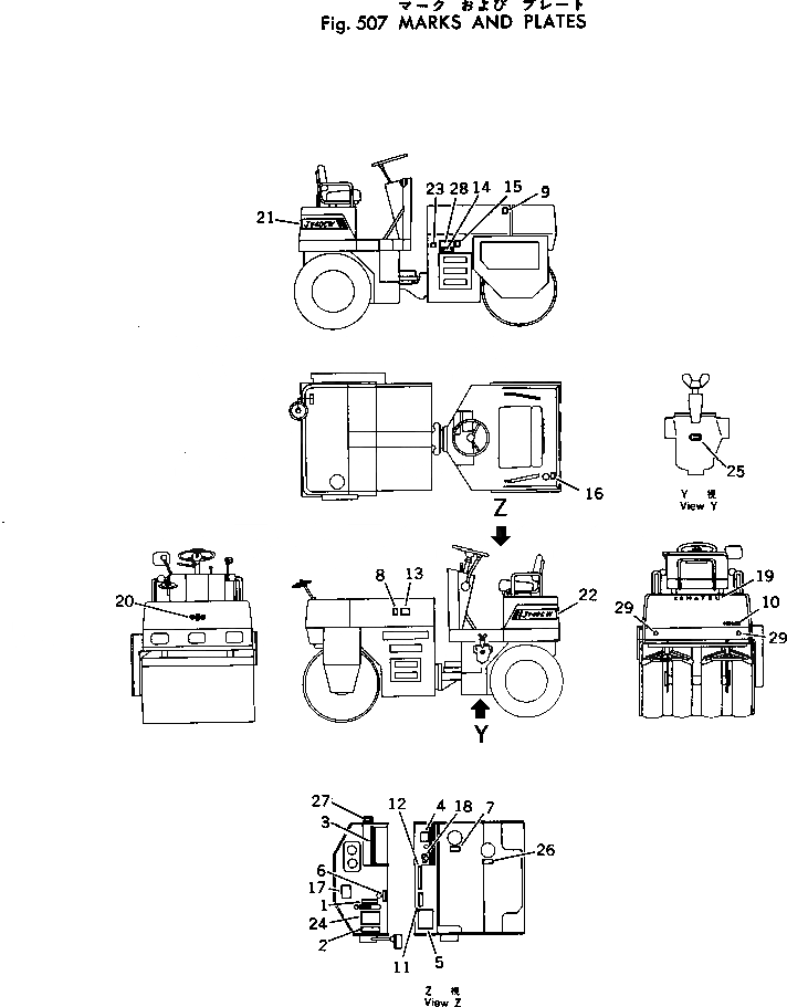
|1

258-59-11100

MARK AND PLATE ASS'Y

SN: 1001-UP

1шт.

1

258-90-11110

PLATE¤ MARK

SN: 1001-UP

1шт.

2

258-90-11120

PLATE¤ OPERATING

SN: 1001-UP

1шт.

3

258-90-11131

PLATE¤ MARK

SN: 1001-UP

1шт.

4

258-90-11141

PLATE¤ OPERATING

SN: 1001-UP

1шт.

5

258-06-91071

MARK

SN: 1001-UP

1шт.

6

258-90-11160

PLATE¤ MARK

SN: 1001-UP

1шт.

7

2691-9-11150

PLATE¤ NAME

SN: 1001-UP

1шт.

8

2691-9-11160

PLATE¤ NAME

SN: 1001-UP

1шт.

9

2691-9-11170

PLATE¤ NAME

SN: 1001-UP

1шт.

10

257-90-11140

PLATE¤ NAME

SN: 1001-UP

1шт.

11

257-90-11160

PLATE¤ SAFETY

SN: 1001-UP

1шт.

12

257-90-11170

PLATE¤ CAUTION

SN: 1001-UP

1шт.

13

257-90-11180

PLATE¤ SAFETY

SN: 1001-UP

1шт.

14

2692-9-11170

PLATE¤ NAME

SN: 1001-UP

1шт.

|14

266-80-13360

SCREW

SN: 1001-UP

4шт.

15

257-90-11221

PLATE¤ CAUTION

SN: 1001-UP

1шт.

16

266-90-31170

PLATE¤ MARK

SN: 1001-UP

1шт.

17

266-90-41142

PLATE¤ SAFETY

SN: 1001-UP

1шт.

18

266-90-43380

PLATE¤ OPERATING

SN: 1001-UP

1шт.

19

265-91-53500

PLATE¤ NAME

SN: 1001-UP

1шт.

20

265-91-53180

PLATE¤ MARK

SN: 1001-UP

1шт.

21

258-59-11170

MARK

SN: 1001-UP

1шт.

22

258-59-11180

MARK

SN: 1001-UP

1шт.

23

258-06-90071

MARK

SN: 1001-UP

1шт.

24

258-90-11220

PLATE¤ MARK

SN: 1001-UP

1шт.

25

258-90-11250

PLATE¤ MARK

SN: 1001-UP

1шт.

26

2691-9-11151

PLATE¤ NAME

SN: 1001-UP

1шт.

27

258-06-92001

MARK

SN: 1001-UP

1шт.

28

26991-11-720

PLATE¤ NAME

SN: 1001-UP

1шт.

|28

266-80-13360

SCREW

SN: 1001-UP

4шт.

29

265-90-12242

REFLECTOR

SN: 1001-UP

2шт.

Выбрано товаров: 32